授权公布号:CN205964770U
灭火器支架
有效
申请
2016-07-27
申请公布
1970-01-01
授权
2017-02-22
预估到期
2026-07-27
| 申请号 | CN201620802206.0 |
| 申请日 | 2016-07-27 |
| 授权公布号 | CN205964770U |
| 授权公告日 | 2017-02-22 |
| 分类号 | A62C13/78 |
| 分类 | 救生;消防; |
| 申请人名称 | 镇江景源消防器材有限公司 |
| 申请人地址 | 江苏省镇江市镇江新区大港通港路7号 |
专利法律状态
2017-02-22
授权
状态信息
授权
摘要
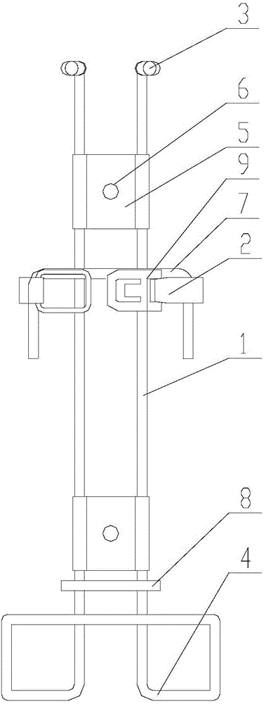
本实用新型公开了一种灭火器支架,包括支架主梁和灭火器绑带,支架主梁的顶部设有夹持部、底部设有支撑部,顶部与底部之间设有至少两块连接板,所述连接板上开设有安装孔,顶部与底部之间固定连接有圆弧形托架,灭火器绑带固定连接于圆弧形托架两端。本实用新型的优点是圆弧形托架加灭火器绑带的设计能牢固固定灭火器,比传统的直接用灭火器绑带固定更稳固、便于操作;夹持部能夹稳灭火器,方便取放灭火器;支撑部的设计能给灭火器底部提供有力支撑,取放灭火器更安全。


