授权公布号:CN208961320U
一种焊接夹具
失效
申请
2018-07-30
申请公布
1970-01-01
授权
2019-06-11
预估到期
2028-07-30
| 申请号 | CN201821215736.0 |
| 申请日 | 2018-07-30 |
| 授权公布号 | CN208961320U |
| 授权公告日 | 2019-06-11 |
| 分类号 | B23K37/04 |
| 分类 | 机床;不包含在其他类目中的金属加工; |
| 申请人名称 | 上海瑞凌电器有限公司 |
| 申请人地址 | 上海市嘉定区工业区叶城路1818号4幢2楼 |
专利法律状态
2023-08-11
专利权的终止
状态信息
未缴年费专利权终止;IPC(主分类):B23K37/04;申请日:20180730;授权公告日:20190611
2020-07-03
专利申请权、专利权的转移
状态信息
专利权的转移;IPC(主分类):B23K37/04;登记生效日:20200615;变更事项:专利权人;变更前:贾崇丰;变更后:上海瑞凌电器有限公司;变更事项:地址;变更前:516860 广东省惠州市龙门县麻榨镇大合龙;变更后:201800 上海市嘉定区工业区叶城路1818号4幢2楼
2019-06-11
授权
状态信息
授权
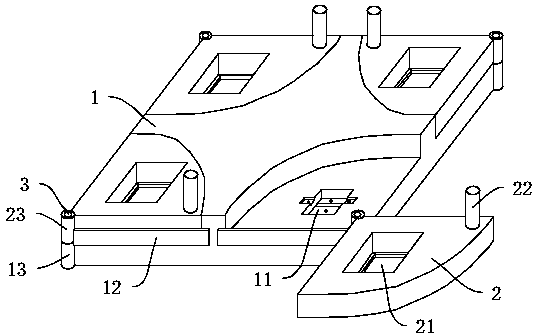
摘要
本实用新型涉及一种焊接夹具,包括:大体呈方形的底座,底座的角部设有第一轴套;转动座,转动座大体呈直角扇形,其角部设有与第一轴套匹配的第二轴套;转轴,转轴穿过第一轴套和第二轴套从而将底座和转动座铰接;转动座设有第一定位槽,第一定位槽上下贯穿转动座;底座对应第一定位槽的位置设有第二定位槽,转动座转动至与底座重合的位置时,第一定位槽和第二定位槽上下对置。本实用新型通过底座与转动座铰接配合,在转动座的第一定位槽和底座的第二定位槽分别放置待焊接工件,转动转动座即可对待焊接工件进行上下定位,其操作简单,定位准确,且可同时对四个工件进行定位焊接,有效提高了焊接的效率。


