授权公布号:CN211887621U
一种粉末喷涂隔离装置
有效
申请
2020-03-16
申请公布
1970-01-01
授权
2020-11-10
预估到期
2030-03-16
| 申请号 | CN202020329109.0 |
| 申请日 | 2020-03-16 |
| 授权公布号 | CN211887621U |
| 授权公告日 | 2020-11-10 |
| 分类号 | B05B16/40;B05B13/02 |
| 分类 | 一般喷射或雾化;对表面涂覆液体或其他流体的一般方法〔2〕; |
| 申请人名称 | 郑州成龙教学设备有限公司 |
| 申请人地址 | 河南省郑州市二七区碧云路99号6号楼 |
专利法律状态
2020-11-10
授权
状态信息
授权
摘要
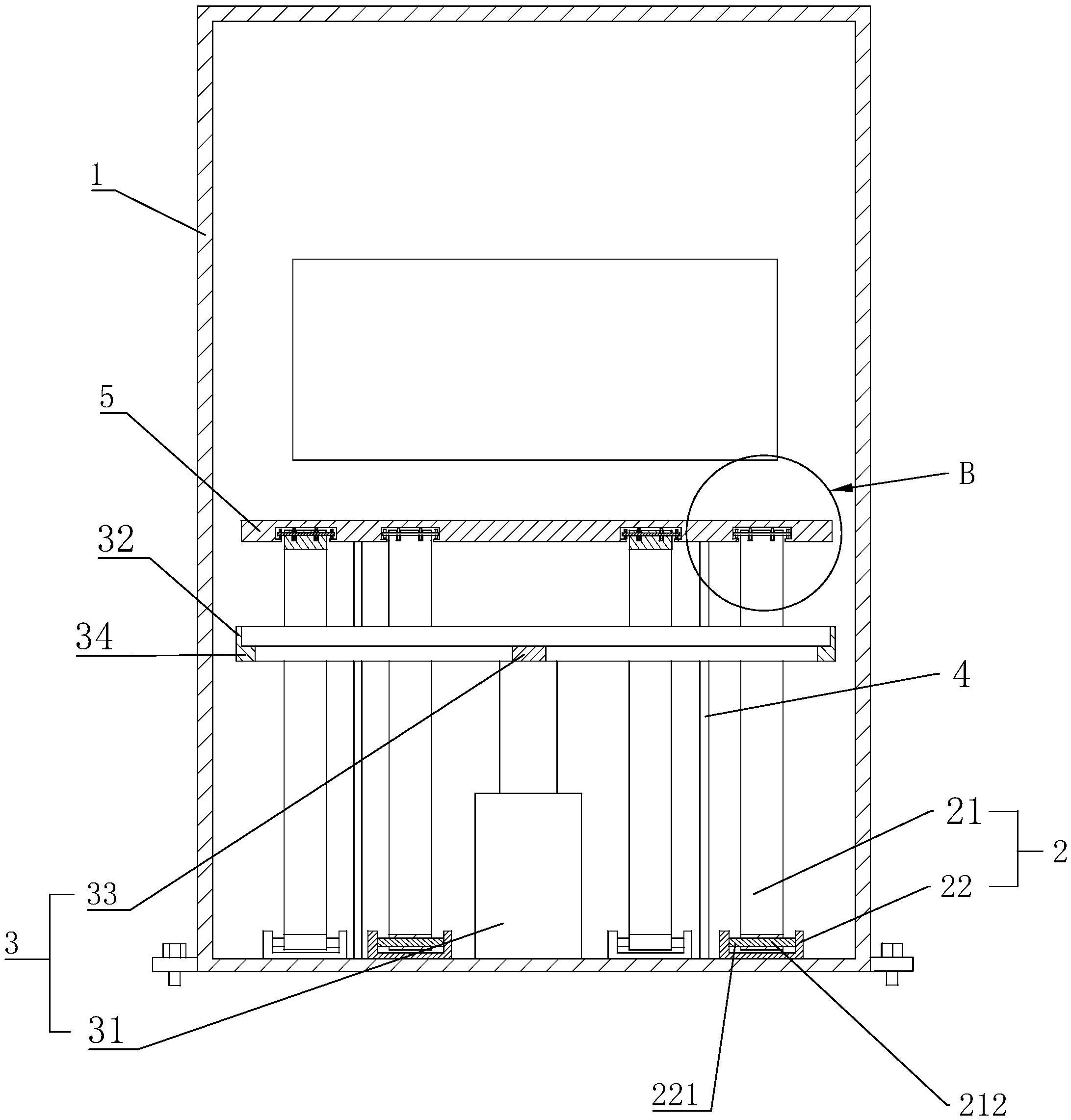
本实用新型涉及一种粉末喷涂隔离装置,其包括箱体,箱体侧面开设有窗口,箱体顶部设置有喷涂口,箱体内设置有缓冲装置和载物台,缓冲装置包括固定块和升降滑杆,升降滑杆一端与固定块套接,升降滑杆另一端设置有外滚筒和滚轮,载物台下表面开设有滑槽,外滚筒和滚轮沿着滑槽滚动,载物台下方设置有顶升装置。本实用新型结构简单、使用方便,通过顶升装置对载物台的顶升,可调节零件与喷涂口的距离,进而可以适用于不同大小和高度的零件,提高了装置对零件的使用范围。


