授权公布号:CN206423471U
红枣浓缩汁的获取装置
有效
申请
2016-10-31
申请公布
1970-01-01
授权
2017-08-22
预估到期
2026-10-31
| 申请号 | CN201621151607.0 |
| 申请日 | 2016-10-31 |
| 授权公布号 | CN206423471U |
| 授权公告日 | 2017-08-22 |
| 分类号 | A23L2/08 |
| 分类 | 其他类不包含的食品或食料;及其处理; |
| 申请人名称 | 宁夏中玺枣业股份有限公司 |
| 申请人地址 | 宁夏回族自治区银川市灵武市临港产业园中央大道西侧、南二路北侧 |
专利法律状态
2017-08-22
授权
状态信息
授权
摘要
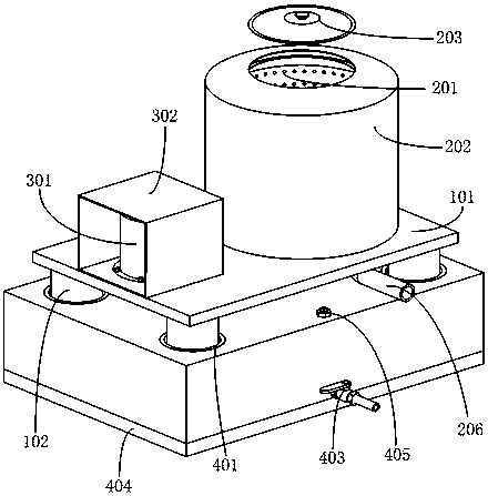
一种红枣浓缩汁的获取装置,包括机架、离心装置、驱动装置、减震装置,所述离心装置和所述驱动装置设置在所述机架上,机架的下端与减震装置连接;所述机架包括支撑板、四条支撑腿,所述支撑板的下表面与所述四条支撑腿固定连接,离心装置和驱动装置设置在支撑板上;所述减震装置的上表面设置四个定位孔,以使支撑腿嵌入所述定位孔中,定位孔的深度大于支撑腿的长度,本实用新型的减震装置通过增加红枣浓缩汁的获取装置的底部的质量,使红枣浓缩汁的获取装置的重心下移,从而使红枣浓缩汁的获取装置更加稳定,减小了红枣浓缩汁的获取装置自身的振动。


