授权公布号:CN108979376B
一种智能锁
有效
申请
2018-07-31
申请公布
2018-12-11
授权
2020-05-05
预估到期
2038-07-31
| 申请号 | CN201810856319.2 |
| 申请日 | 2018-07-31 |
| 申请公布号 | CN108979376A |
| 申请公布日 | 2018-12-11 |
| 授权公布号 | CN108979376B |
| 授权公告日 | 2020-05-05 |
| 分类号 | E05C9/04;E05B49/00;E05B17/00;G07C9/00 |
| 分类 | 锁;钥匙;门窗零件;保险箱; |
| 申请人名称 | 华兴新锐通信科技集团有限公司 |
| 申请人地址 | 河北省沧州市河间(省级)经济技术开发区 |
专利法律状态
2020-05-05
授权
状态信息
授权
2020-05-01
专利申请权、专利权的转移
状态信息
专利申请权的转移 IPC(主分类):E05C9/04 登记生效日:20200410 变更前申请人:深圳市乐业科技有限公司 变更前地址:518000 广东省深圳市南山区南山数字文化产业基地东塔3004 变更后申请人:华兴新锐通信科技集团有限公司 变更后地址:062450 河北省沧州市河间(省级)经济技术开发区
2020-04-14
著录事项变更
状态信息
著录事项变更 IPC(主分类):E05C9/04 变更前发明人:刘殿坤 变更后发明人:阎志兵 变更后发明人:刘永宽 变更后发明人:刘殿坤
2019-01-04
实质审查的生效
状态信息
实质审查的生效IPC(主分类):E05C 9/04
2018-12-11
公布
状态信息
公开
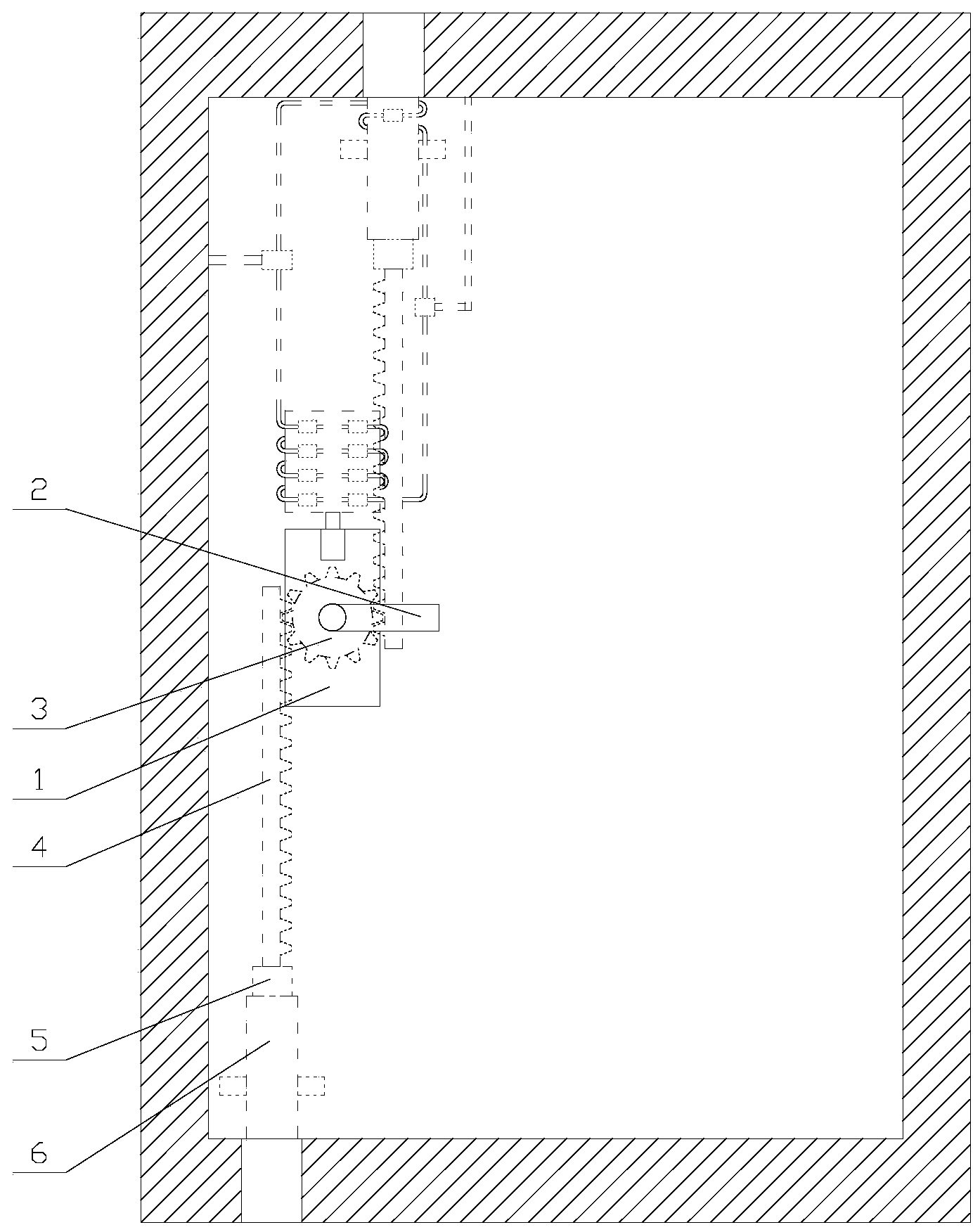
摘要
本发明涉及一种智能锁,包括锁芯和把手,还包括锁死机构和加热机构,锁死机构包括齿轮和两个锁死组件,锁死组件包括齿条、传动块、定位块、夹紧单元和升降单元,夹紧单元包括固定板、第一电机、驱动轮、驱动杆、滑块、滑槽、支撑块和两个从动单元,升降单元包括第二电机、丝杆、移动块和导向单元,该智能锁,通过锁死机构在门框的上下方起到锁扣效果,能够增加小偷破解防盗门的难度,从而提高了该智能锁的安全性,通过加热机构能够对用户的手指进行加热,从而提高指纹识别精度,使得该智能锁的识别精度更高。


