授权公布号:CN214790639U
一种光源高度可调节的植物灯
有效
申请
2021-06-17
申请公布
1970-01-01
授权
2021-11-19
预估到期
2031-06-17
| 申请号 | CN202121346784.5 |
| 申请日 | 2021-06-17 |
| 授权公布号 | CN214790639U |
| 授权公告日 | 2021-11-19 |
| 分类号 | F21S6/00;F21V21/12;F21V21/36;F21V33/00 |
| 分类 | 照明; |
| 申请人名称 | 宁波金辉光电科技有限公司 |
| 申请人地址 | 浙江省宁波市余姚市经济开发区西南区凤仪路69号 |
专利法律状态
2021-11-19
授权
状态信息
授权
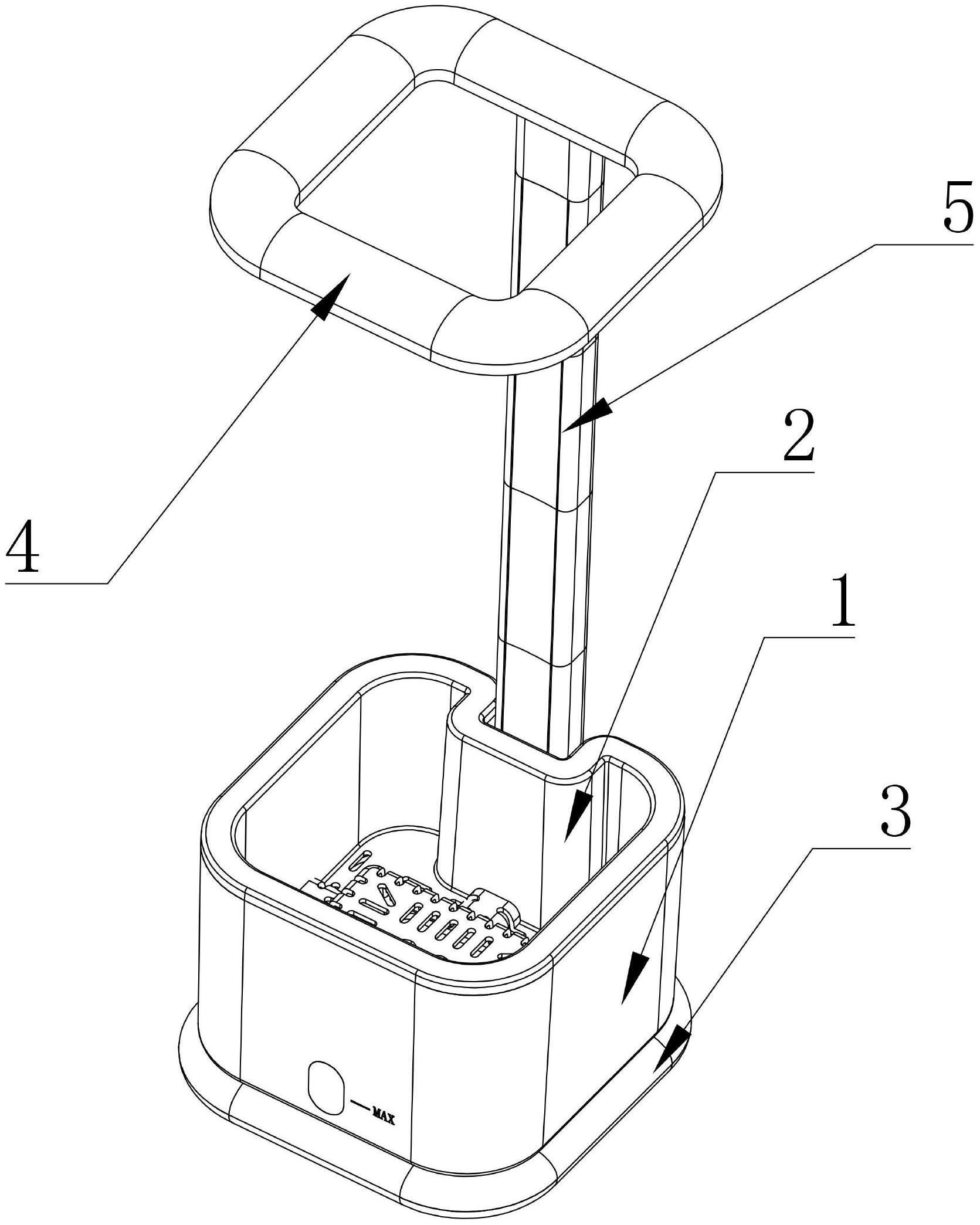
摘要
本实用新型提供一种光源高度可调节的植物灯,包括底座、盆体和台灯组件,盆体套装在底座内,台灯组件包括支撑座、照明灯以及至少一个调节块,支撑座与照明灯通过调节块连接,调节块的一端设有插接槽,调节块的另一端设有与插接槽对应的插接块,通过调整调节块的数量可以调节照明灯的高度。本实用新型一种光源高度可调节的植物灯,该植物台灯的照明灯与底部的支撑座之间通过多个相互拼接的调节块连接,该调解块的前后端可相互拔插配合,通过调整调节块的数量可以调节照明灯与支撑座之间的距离,即为调节照明灯的高度,使得该植物台灯的盆体可以与各种不同植物适配,避免过高的植物与照明灯触碰而影响植物生长。


