授权公布号:CN215389068U
一种藕粉混合上料装置
有效
申请
2021-06-21
申请公布
1970-01-01
授权
2022-01-04
预估到期
2031-06-21
| 申请号 | CN202121382157.7 |
| 申请日 | 2021-06-21 |
| 授权公布号 | CN215389068U |
| 授权公告日 | 2022-01-04 |
| 分类号 | B01F35/71;B01F35/32;B01F35/21;B01F33/80;B01F101/06N |
| 分类 | 一般的物理或化学的方法或装置; |
| 申请人名称 | 山东秦老太食品有限公司 |
| 申请人地址 | 山东省济南市天桥区工业开发区7355号 |
专利法律状态
2022-01-04
授权
状态信息
授权
摘要
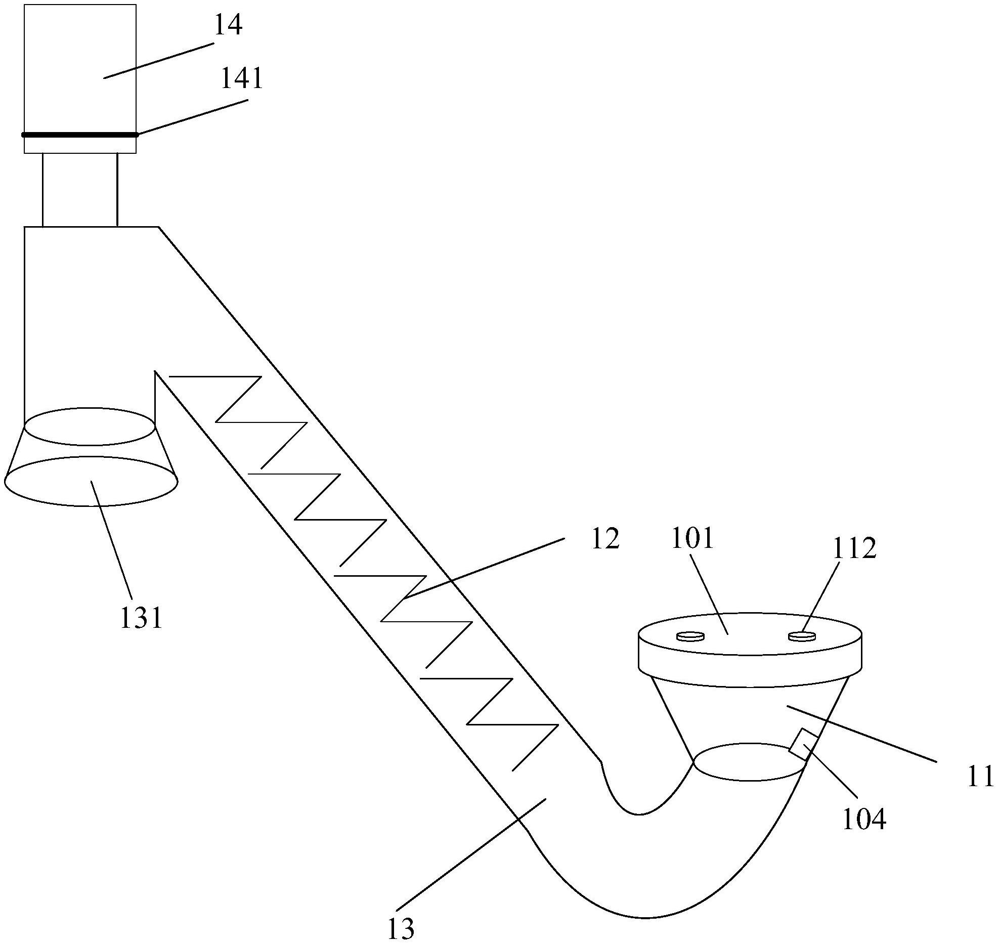
本申请公开了一种藕粉混合上料装置,该装置包括:包括接收仓、螺旋提升机、管道、送风机;所述接收仓位于盛装有藕粉的第一混料仓的下方,底部与所述管道连接,用于接收所述第一混料仓中的藕粉并将所述藕粉输送至所述管道内;所述螺旋提升机设置于所述管道的内部,贯穿所述管道,用于将所述管道中的藕粉从所述管道与所述接收仓连接的首端传送至末端;所述管道的末端向下开口,将所述藕粉卸载至第二混料仓中;所述送风机设置于所述管道的末端,沿所述藕粉进入所述第二混料仓的方向送风,驱动所述管道中的藕粉进入所述第二混料仓。


