授权公布号:CN213905725U
一种防脱落的电源适配器
有效
申请
2020-11-25
申请公布
1970-01-01
授权
2021-08-06
预估到期
2030-11-25
| 申请号 | CN202022780986.2 |
| 申请日 | 2020-11-25 |
| 授权公布号 | CN213905725U |
| 授权公告日 | 2021-08-06 |
| 分类号 | H01R13/639;H02M7/00 |
| 分类 | 基本电气元件; |
| 申请人名称 | 深圳市众鑫科电子有限公司 |
| 申请人地址 | 广东省深圳市光明区凤凰街道塘尾社区第三工业区3号4栋701 |
专利法律状态
2021-08-06
授权
状态信息
授权
摘要
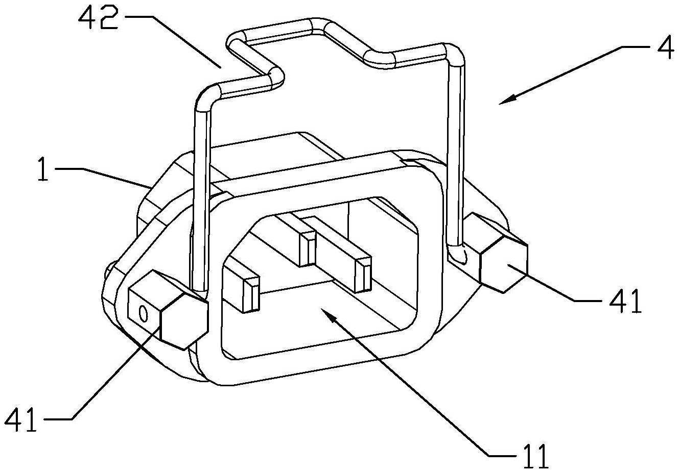
本实用新型公开了一种防脱落的电源适配器,包括适配器电源本体、连接线和输出线,连接线的一端为与插座连接的电源插头,连接线的另一端为与适配器电源本体连接的电源接头,输出线从适配器电源本体输出并设有电源输出接头,适配器电源本体包括插孔,插孔与电源接头连接,在插孔的外部设有防脱组件,防脱组件包括设置在插孔左右两侧的限位块,和防脱扣;防脱扣由转动连接于两侧限位块的连接臂,以及在两侧连接臂之间设置的卡扣组成,通过转动防脱扣,将卡扣与连接线进行卡接配合;本实用新型设置有防脱组件,通过转动防脱扣对电源接头进行限位,使电源接头与电源适配器本体的开孔连接时不会松动,且操作简单,保证了电器使用的稳定性。


