授权公布号:CN215099555U
一种食品下料罐
有效
申请
2021-06-11
申请公布
1970-01-01
授权
2021-12-10
预估到期
2031-06-11
| 申请号 | CN202121317326.9 |
| 申请日 | 2021-06-11 |
| 授权公布号 | CN215099555U |
| 授权公告日 | 2021-12-10 |
| 分类号 | B65D88/66;B65D90/00;B08B9/087;B65G65/40 |
| 分类 | 输送;包装;贮存;搬运薄的或细丝状材料; |
| 申请人名称 | 山东秦老太食品有限公司 |
| 申请人地址 | 山东省济南市天桥区工业开发区7355号 |
专利法律状态
2021-12-10
授权
状态信息
授权
摘要
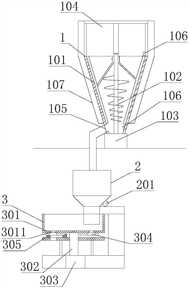
本实用新型涉及一种食品下料罐,其包括:投料装置,投料装置包含罐体、拨片、导向件和驱动电机;罐体包含进料端和出料端,拨片和导向件均设置于罐体内部,驱动电机用以驱动拨片铲除罐体内壁附着的物料,导向件用于将罐体内的物料引导至出料端;下料装置,下料装置包括下料件和分料件,下料件与罐体的出料端相连,用于中转物料;分料件与下料件相接,用以分次定量地进行下料;本实用新型的拨片能够铲除罐体内壁所附着的物料,防止物料发生堆积、堵塞;导向件则能引导物料进入出料端,提高下料的效率;下料件与分料件的配合在下料效率高的基础上可以实现分次、定量下料,使得下料罐的功能更加丰富,能满足客户更多的需求。


