授权公布号:CN216347327U
一种食品炒制后的冷却储存装置
有效
申请
2021-10-08
申请公布
1970-01-01
授权
2022-04-19
预估到期
2031-10-08
| 申请号 | CN202122433622.1 |
| 申请日 | 2021-10-08 |
| 授权公布号 | CN216347327U |
| 授权公告日 | 2022-04-19 |
| 分类号 | F25D31/00;F25D17/02;F25D25/04;A23L3/36 |
| 分类 | 制冷或冷却;加热和制冷的联合系统;热泵系统;冰的制造或储存;气体的液化或固化; |
| 申请人名称 | 山东秦老太食品有限公司 |
| 申请人地址 | 山东省济南市天桥区工业开发区7355号 |
专利法律状态
2022-04-19
授权
状态信息
授权
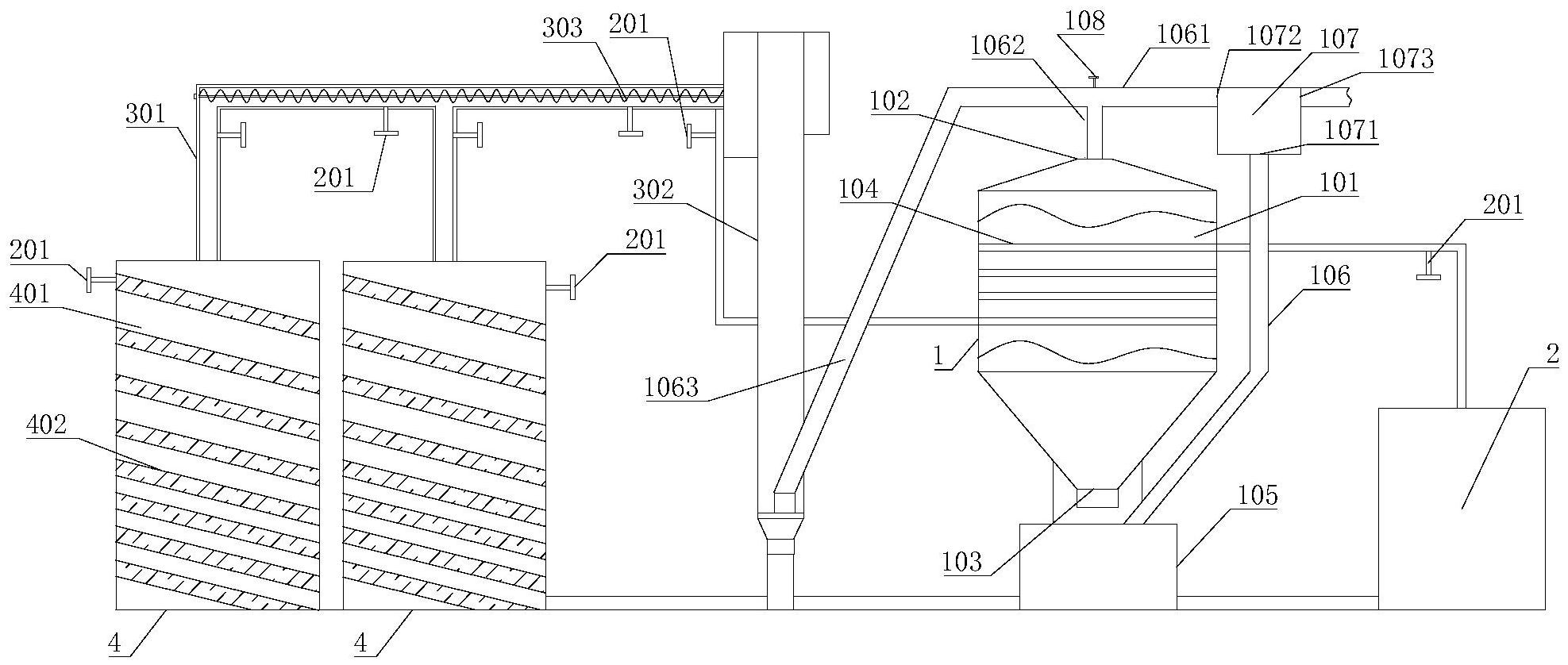
摘要
本实用新型涉及一种食品炒制后的冷却储存装置,其包括:冷却装置,冷却装置包含罐体和换热器,空腔内设有冷却物料的第一冷却件,第一冷却件与换热器相连;冷却装置还设有中转箱、循环管和旋风分离机;旋风分离机通过循环管分别与中转箱和进料端相连,用以形成物料循环冷却路径;传输装置包含传输机构和第二冷却件;储存罐包含储存空腔,储存空腔内设有第三冷却件,第三冷却件分别与第二冷却件和换热器相连,以形成换热循环路径;本实用新型能够对炒制后的食品进行冷却并在储存过程中继续冷却;循环冷却路径使得物料的冷却更彻底,降温效果明显;换热循环路径则使得整个装置的换热工作形成一个循环,换热效果好并且能够集中调控,方便用户使用。


