授权公布号:CN209176226U
立方氮化硼刀具胚体压制模具
有效
申请
2018-07-21
申请公布
1970-01-01
授权
2019-07-30
预估到期
2028-07-21
| 申请号 | CN201821158309.3 |
| 申请日 | 2018-07-21 |
| 授权公布号 | CN209176226U |
| 授权公告日 | 2019-07-30 |
| 分类号 | B30B15/02 |
| 分类 | 压力机; |
| 申请人名称 | 开封贝斯科超硬材料有限公司 |
| 申请人地址 | 河南省开封市河南自贸试验区开封片区郑开大道296号自贸大厦A座204室住所集中地(经营场所开封八大街与陇海五路交叉路口向北100米路西) |
专利法律状态
2022-04-26
专利权质押合同登记的生效、变更及注销
状态信息
专利权质押合同登记的注销;IPC(主分类):B30B15/02;授权公告日:20190730;申请日:20180721;登记号:Y2021980003014;出质人:开封贝斯科超硬材料有限公司;质权人:中国银行股份有限公司开封分行;解除日:20220411
2021-11-16
专利权人的姓名或者名称、地址的变更
状态信息
专利权人的姓名或者名称、地址的变更;IPC(主分类):B30B15/02;变更事项:专利权人;变更前:开封贝斯科超硬材料有限公司;变更后:开封贝斯科超硬材料有限公司;变更事项:地址;变更前:475008 河南省开封市自贸试验区开封片区郑开大道296号自贸大厦A座204室住所集中地(经营场所:开封经济技术开发区杏花营工业园创业园区);变更后:475000 河南省开封市河南自贸试验区开封片区郑开大道296号自贸大厦A座204室住所集中地(经营场所开封八大街与陇海五路交叉路口向北100米路西)
2021-05-14
专利权质押合同登记的生效、变更及注销
状态信息
专利权质押合同登记的生效;IPC(主分类):B30B15/02;登记号:Y2021980003014;登记生效日:20210426;出质人:开封贝斯科超硬材料有限公司;质权人:中国银行股份有限公司开封分行;实用新型名称:立方氮化硼刀具胚体压制模具;申请日:20180721;授权公告日:20190730
2021-04-13
专利权质押合同登记的生效、变更及注销
状态信息
专利权质押合同登记的注销;IPC(主分类):B30B15/02;授权公告日:20190730;申请日:20180721;登记号:Y2020980000878;出质人:开封贝斯科超硬材料有限公司;质权人:中国银行股份有限公司开封分行;解除日:20210329
2020-04-14
专利权质押合同登记的生效、变更及注销
状态信息
专利权质押合同登记的生效;IPC(主分类):B30B15/02;登记号:Y2020980000878;登记生效日:20200320;出质人:开封贝斯科超硬材料有限公司;质权人:中国银行股份有限公司开封分行;实用新型名称:立方氮化硼刀具胚体压制模具;申请日:20180721;授权公告日:20190730
2019-07-30
授权
状态信息
授权
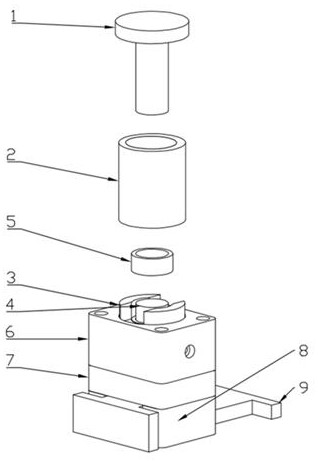
摘要
本实用新型属于立方氮化硼刀具胚体制造技术领域,具体涉及为一种立方氮化硼刀具胚体压制模具,包括三组件模具托架,脱模块,上、下压杆,上、下阴模,所述三组件模具托架包括第一托架,第二托架和第三托架,所述第一托架和第二托架为带有通孔的长方体结构,所述第三托架为凹槽结构,凹槽两翼为支撑脚结构,用于支撑第一和第二托架;所述脱模块包括高台和低台,脱模前脱模块高台放置在第三托架的凹槽结构内;退模时通过拉动脱模块进行二次施压,将坯体压入碳模中,避免将把碳模撑破,下阴模设有缓冲凹台,成品率由传统压制模具的85%提高到99%左右,大大降低了废品率。


