授权公布号:CN212946095U
一种金刚石切削工具
有效
申请
2020-08-11
申请公布
1970-01-01
授权
2021-04-13
预估到期
2030-08-11
| 申请号 | CN202021659434.X |
| 申请日 | 2020-08-11 |
| 授权公布号 | CN212946095U |
| 授权公告日 | 2021-04-13 |
| 分类号 | B23K26/402;B23K26/70;B23K26/38 |
| 分类 | 机床;不包含在其他类目中的金属加工; |
| 申请人名称 | 开封贝斯科超硬材料有限公司 |
| 申请人地址 | 河南省开封市河南自贸试验区开封片区郑开大道296号自贸大厦A座204室住所集中地(经营场所开封八大街与陇海五路交叉路口向北100米路西) |
专利法律状态
2021-11-23
专利权人的姓名或者名称、地址的变更
状态信息
专利权人的姓名或者名称、地址的变更;IPC(主分类):B23K26/38;变更事项:专利权人;变更前:开封贝斯科超硬材料有限公司;变更后:开封贝斯科超硬材料有限公司;变更事项:地址;变更前:475000 河南省开封市河南自贸试验区开封片区郑开大道296号自贸大厦A座204室住所集中地(经营场所:开封经济技术开发区杏花营工业园创业园区);变更后:475000 河南省开封市河南自贸试验区开封片区郑开大道296号自贸大厦A座204室住所集中地(经营场所开封八大街与陇海五路交叉路口向北100米路西)
2021-04-13
授权
状态信息
授权
摘要
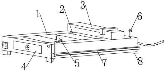
本实用新型公开了一种金刚石切削工具,包括切削工具主体,所述切削工具主体的上端表面设置水平传动的传输带,所述传输带的上方设置金刚石激光切割机,所述金刚石激光切割机与切削工具主体固定安装,所述金刚石激光切割机端部固定设置可通过光线和/或声音报警的示警机构;所述切削工具主体的前端竖直面设置与内部连通的检修口,所述检修口处设置可开启的检修门,所述检修门表面设置贯穿的散热孔,所述散热孔内配合安装散热扇,所述切削工具主体的侧边设置滑轨,所述滑轨的走向与传输带的进给方向一致,所述滑轨内滑动设置切割机控制面板,本金刚石切削工具提升散热性能和维修的便利性,并加入声光示警机构,提升使用的便利性。


