授权公布号:CN108820321B
收杯台
有效
申请
2018-08-08
申请公布
2018-11-16
授权
2024-01-02
预估到期
2038-08-08
| 申请号 | CN201810901061.3 |
| 申请日 | 2018-08-08 |
| 申请公布号 | CN108820321A |
| 申请公布日 | 2018-11-16 |
| 授权公布号 | CN108820321B |
| 授权公告日 | 2024-01-02 |
| 分类号 | B65B35/32;B65B35/56;B65B35/50;B65B57/20;B65B57/14;B65B5/10 |
| 分类 | 输送;包装;贮存;搬运薄的或细丝状材料; |
| 申请人名称 | 岸宝环保科技(成都)有限公司 |
| 申请人地址 | 四川省成都市高新区西区大道501号 |
专利法律状态
2024-01-02
授权
状态信息
授权
2019-05-14
著录事项变更
状态信息
著录事项变更;IPC(主分类):B65B35/32;变更事项:申请人;变更前:成都岸宝纸制品有限公司;变更后:岸宝环保科技(成都)有限公司;变更事项:地址;变更前:610000 四川省成都市成都国家高新技术产业开发区(西区);变更后:610000 四川省成都市高新区西区大道501号
2018-12-11
实质审查的生效
状态信息
实质审查的生效;IPC(主分类):B65B35/32;申请日:20180808
2018-11-16
公布
状态信息
公布
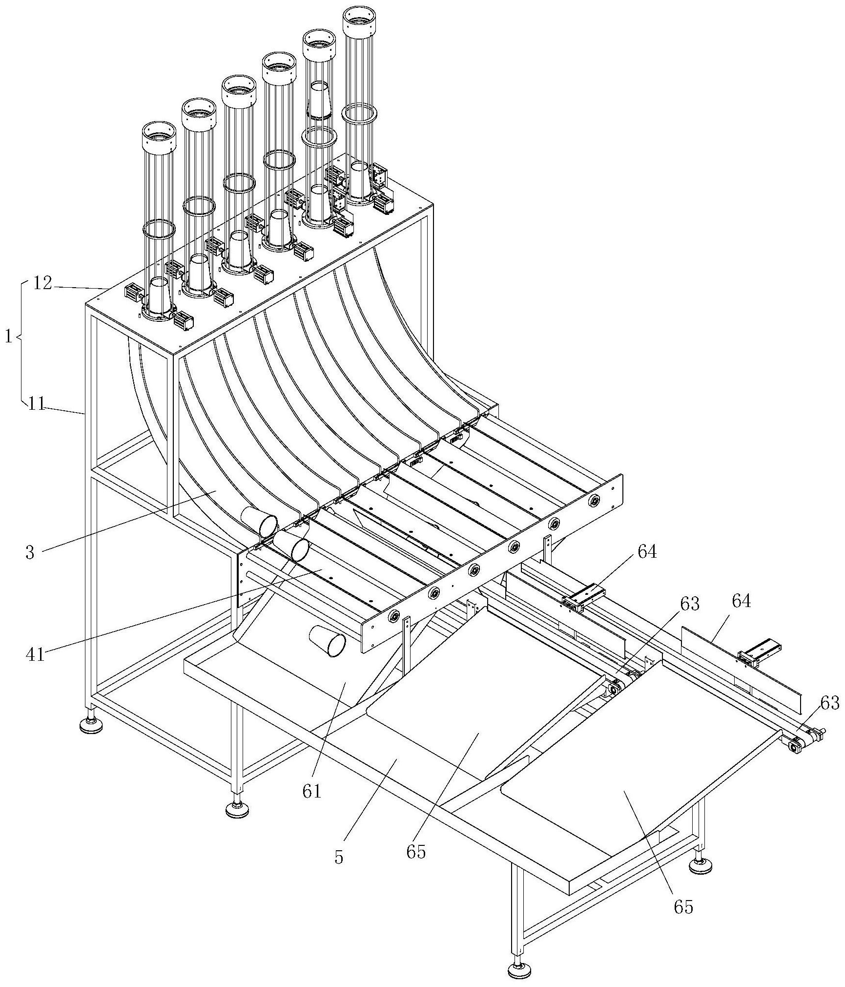
摘要
本发明提供了一种收杯台,涉及纸杯加工技术领域,解决现有技术中存在的每台纸杯加工设备都需要一个员工进行包装,存在浪费人力成本的技术问题。该收杯台包括架体,所述架体上设有定量收杯机构、下杯滑道、翻杯机构、缓冲料斗和控制装置;其中,所述定量收杯机构为两个以上;所述下杯滑道的上端与定量收杯笼的出口处相接,所述下杯滑道的下端与翻杯机构的进料端相接;所述缓冲料斗位于翻杯机构的下方;所述定量收杯机构、翻杯机构均与所述控制装置电连接。本发明用于纸杯生产中的整理、收集。


