授权公布号:CN215352884U
一种橡胶排气装置
有效
申请
2020-07-07
申请公布
1970-01-01
授权
2021-12-31
预估到期
2030-07-07
| 申请号 | CN202021312197.X |
| 申请日 | 2020-07-07 |
| 授权公布号 | CN215352884U |
| 授权公告日 | 2021-12-31 |
| 分类号 | B01D53/48;B01D53/78 |
| 分类 | 一般的物理或化学的方法或装置; |
| 申请人名称 | 天津七二九体育用品有限公司 |
| 申请人地址 | 天津市西青区华苑产业区(环外)海泰南北大街15号1号厂房 |
专利法律状态
2021-12-31
授权
状态信息
授权
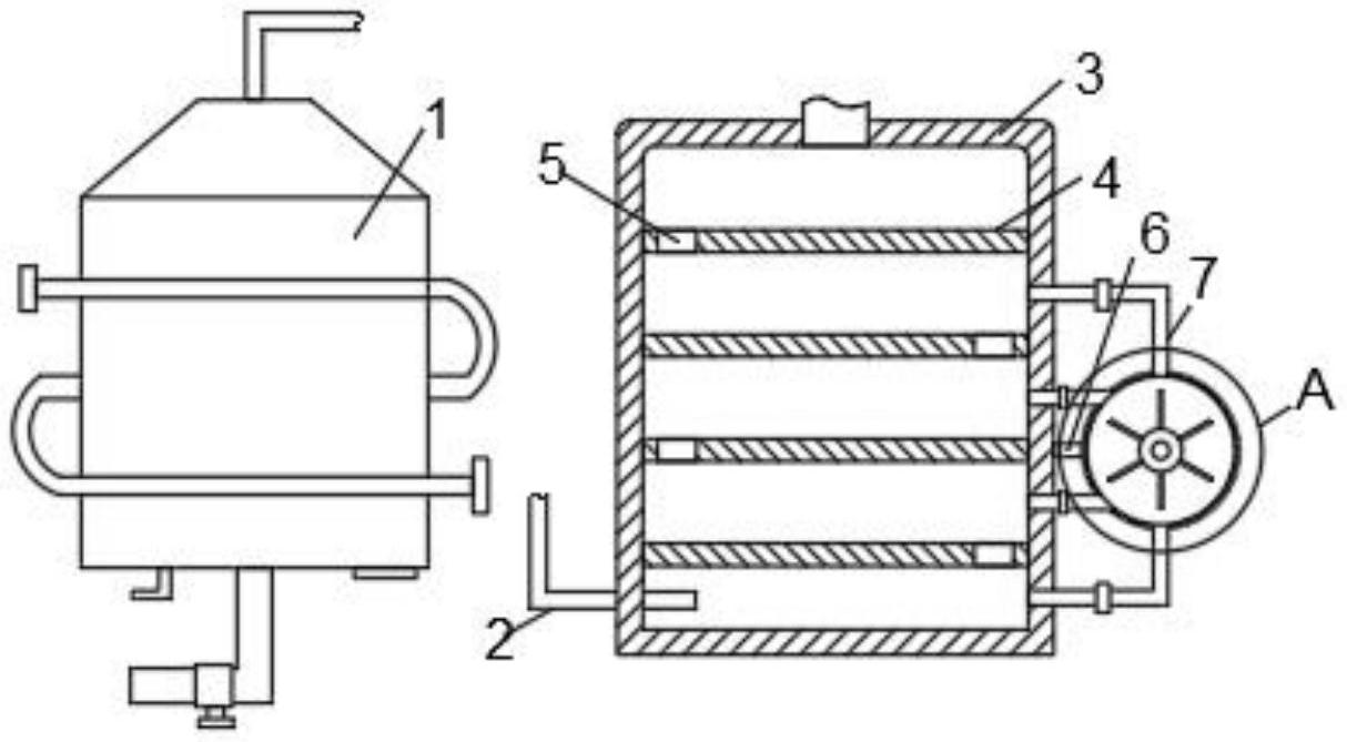
摘要
本实用新型涉及橡胶生产技术领域,且公开了一种橡胶排气装置,包括装置本体,所述装置本体的一端设置有排气管,所述排气管的一端固定连接有除硫罐,且排气管与除硫罐的底部相连通设置,所述除硫罐的内侧壁上固定连接有多个隔板,所述隔板的侧壁上开设有排气孔,且两个相邻的隔板上的排气孔呈交错设置,所述除硫罐的侧壁上固定连接有多个换液管,多个所述换液管的侧壁上均设置有控制阀,所述换液管的一端固定连接有换液装置。该种橡胶排气装置,它提高了气体的处理效率和处理效果。


