授权公布号:CN211500548U
多级组合式不取芯孕镶金刚石钻头
有效
申请
2019-12-26
申请公布
1970-01-01
授权
2020-09-15
预估到期
2029-12-26
| 申请号 | CN201922393949.3 |
| 申请日 | 2019-12-26 |
| 授权公布号 | CN211500548U |
| 授权公告日 | 2020-09-15 |
| 分类号 | E21B10/54 |
| 分类 | 土层或岩石的钻进;采矿; |
| 申请人名称 | 武汉万邦激光金刚石工具股份有限公司 |
| 申请人地址 | 湖北省武汉市经济技术开发区车城大道280-8号 |
专利法律状态
2020-09-15
授权
状态信息
授权
摘要
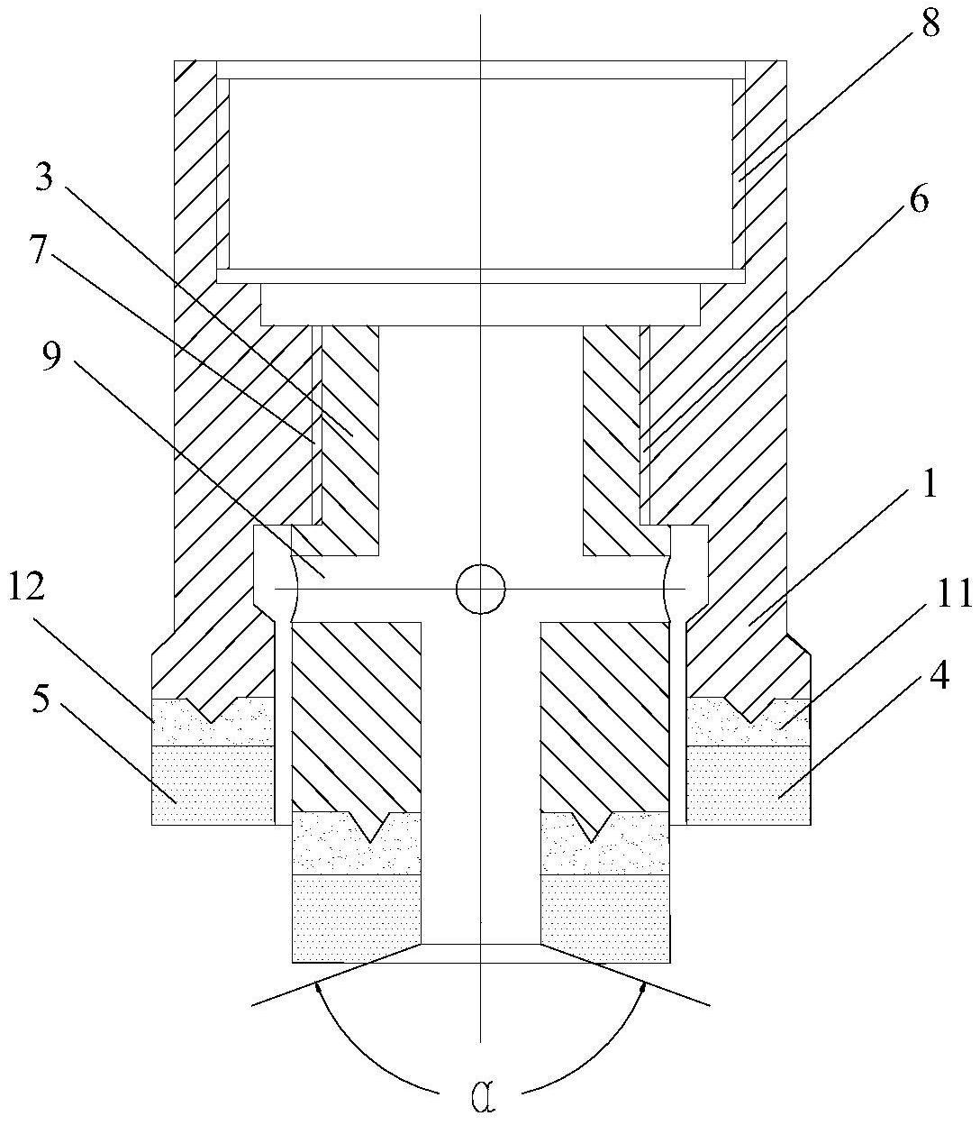
本实用新型提供了一种多级组合式不取芯孕镶金刚石钻头,它包括位于外层的外环形孕镶金刚石钻头和位于钻头中心位置的中心孕镶金刚石钻头,所述外环形孕镶金刚石钻头和中心孕镶金刚石钻头之间固定连接。该钻头整体磨损趋于均匀,金刚石出刃良好,钻进效率高,钻头使用寿命长,能够满足钻探工程领域大口径不取芯钻进的需求。


