授权公布号:CN208593348U
一种翻转式车载显示器
失效
申请
2018-06-06
申请公布
1970-01-01
授权
2019-03-12
预估到期
2028-06-06
| 申请号 | CN201820866141.5 |
| 申请日 | 2018-06-06 |
| 授权公布号 | CN208593348U |
| 授权公告日 | 2019-03-12 |
| 分类号 | B60R11/02 |
| 分类 | 一般车辆; |
| 申请人名称 | 深圳市捷仕朗智能科技有限公司 |
| 申请人地址 | 广东省深圳市龙华区龙华街道梅观高速公路东侧中裕冠产业园宿舍A2栋4楼412-414 |
专利法律状态
2023-06-16
专利权的终止
状态信息
未缴年费专利权终止;IPC(主分类):B60R11/02;申请日:20180606;授权公告日:20190312
2019-03-12
授权
状态信息
授权
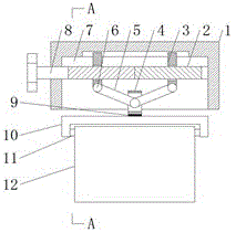
摘要
本实用新型公开了一种翻转式车载显示器,包括安装盒,安装盒的底部开设有伸缩槽,伸缩槽的内壁转动连接有双向丝杆,双向丝杆的一端固定连接有转杆,转杆远离双向丝杆的一端贯穿安装盒的侧壁,且延伸至伸缩槽的外部,双向丝杆的侧壁螺纹套接有两个相对称滑块,两个滑块的底部均通过连接轴转动连接有连接杆,两个连接杆之间设置有调节块,调节块的侧壁开设有通槽,通槽的内壁转动连接有铰链轴,两个连接杆远离连接轴的一端通过铰链轴相铰接,调节块的底部转动连接有竖直方向设置的第一阻尼转轴。本实用新型结构简单,操作方便,利用多个阻尼转轴和收纳槽的设置来实现显示器翻转调节和节省车内空间的目的。


