授权公布号:CN209771330U
一种带风扇的儿童益智机器人
有效
申请
2018-12-21
申请公布
1970-01-01
授权
2019-12-13
预估到期
2028-12-21
| 申请号 | CN201822151951.5 |
| 申请日 | 2018-12-21 |
| 授权公布号 | CN209771330U |
| 授权公告日 | 2019-12-13 |
| 分类号 | A63H3/00;A63H3/36 |
| 分类 | 运动;游戏;娱乐活动; |
| 申请人名称 | 深圳市捷仕朗智能科技有限公司 |
| 申请人地址 | 广东省深圳市龙华区龙华街道梅观高速公路东侧中裕冠产业园宿舍A2栋4楼412-414室 |
专利法律状态
2019-12-13
授权
状态信息
授权
摘要
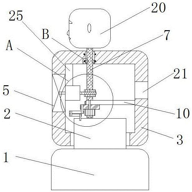
本实用新型公开了一种带风扇的儿童益智机器人,包括底座,底座的上侧中心处固定连接有连接块,连接块的上方设有机器人本体,机器人本体的底部固定设有轴承,且机器人本体内设有空腔,连接块的上端穿过轴承并向机器人本体内延伸,连接块固定转动连接在轴承内,机器人本体内的一侧竖直固定连接有固定杆,固定杆另一端固定连接有驱动电机,驱动电机为两端输出,驱动电机的输出端固定连接有内嵌在机器人本体上的风扇,驱动电机另一个输出端通过联轴器固定连接有蜗杆,机器人本体的顶部贯穿设置有拉杆,拉杆通过滑动机构与机器人本体滑动连接。本实用新型使得风扇能够一边转动,一边左右摆动,且能够很好地控制风扇左右摆动。


