授权公布号:CN211855577U
一种改进式红外测温枪
失效
申请
2020-03-04
申请公布
1970-01-01
授权
2020-11-03
预估到期
2030-03-04
| 申请号 | CN202020250664.4 |
| 申请日 | 2020-03-04 |
| 授权公布号 | CN211855577U |
| 授权公告日 | 2020-11-03 |
| 分类号 | G01J5/02 |
| 分类 | 测量;测试; |
| 申请人名称 | 深圳市捷仕朗智能科技有限公司 |
| 申请人地址 | 广东省深圳市龙华区龙华街道梅观高速公路东侧中裕冠产业园宿舍A2栋4楼412-414室 |
专利法律状态
2020-11-03
授权
状态信息
授权
摘要
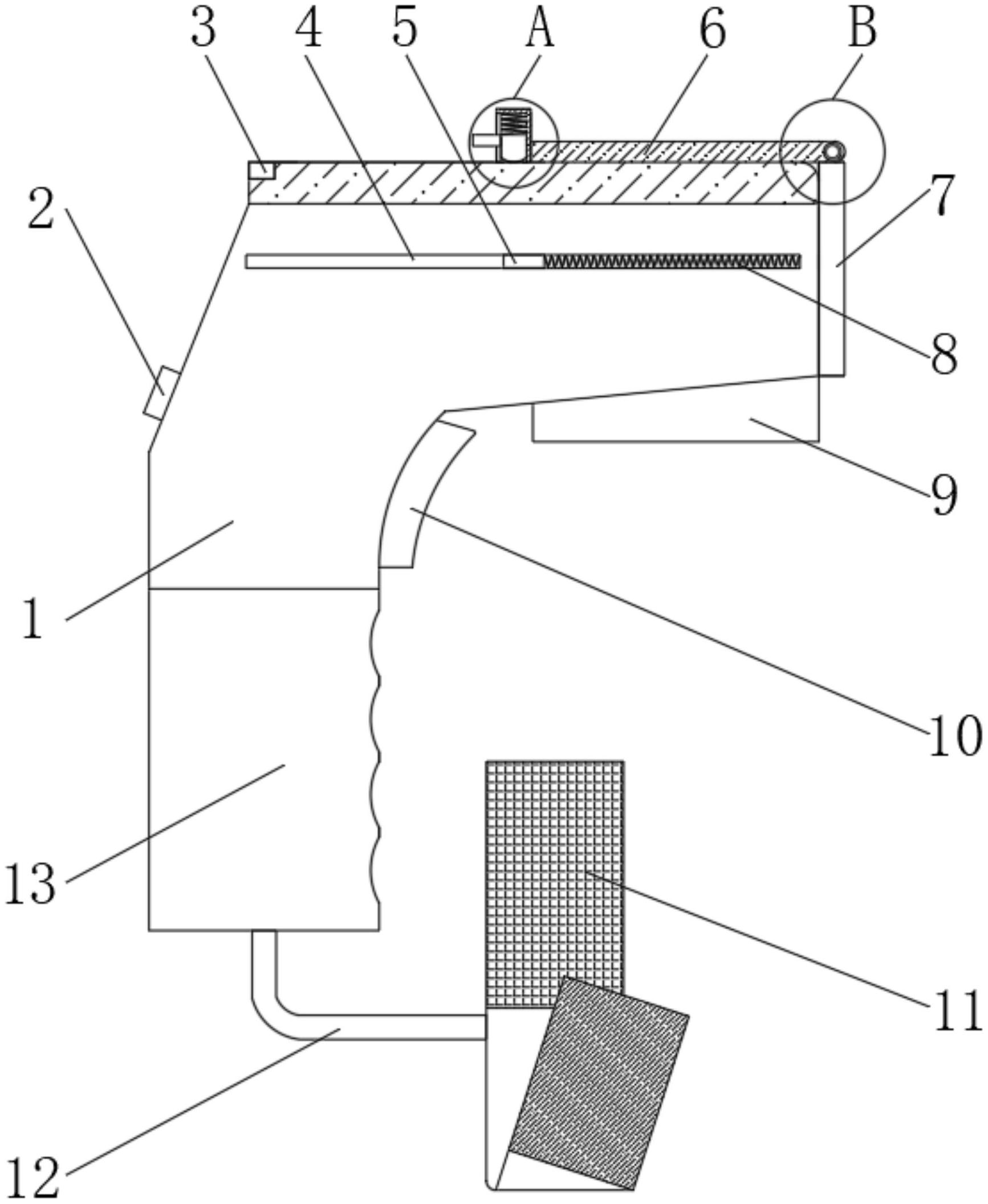
本实用新型公开了一种改进式红外测温枪,包括枪体,所述枪体开设有滑槽,所述滑槽内设置有滑块,所述滑块与滑槽滑动连接,所述滑块的一侧设置有回缩弹簧,所述回缩弹簧的一端与滑块固定连接,所述回缩弹簧的另一端与凹槽固定连接,所述滑块固定连接有活动块,所述活动块与枪体滑动连接,所述活动块的一侧设置有转轴,所述转轴的两端均与活动块固定连接,所述转轴套设有保护盖和扭簧,所述保护盖与转轴转动连接,所述扭簧的一端与保护盖固定连接,所述扭簧的另一端与活动块固定连接,本实用新型设置有保护盖,从而测温枪的红外测温探头受到保护盖的保护,不但能避免测温枪的红外测温探头受到碰撞和刮花且能防尘。


