授权公布号:CN209782046U
一种便于安装的平板电脑用夹具
有效
申请
2018-12-17
申请公布
1970-01-01
授权
2019-12-13
预估到期
2028-12-17
| 申请号 | CN201822115237.0 |
| 申请日 | 2018-12-17 |
| 授权公布号 | CN209782046U |
| 授权公告日 | 2019-12-13 |
| 分类号 | F16M11/04;F16M11/20;F16M13/02 |
| 分类 | 工程元件或部件;为产生和保持机器或设备的有效运行的一般措施;一般绝热; |
| 申请人名称 | 深圳市捷仕朗智能科技有限公司 |
| 申请人地址 | 广东省深圳市龙华区龙华街道梅观高速公路东侧中裕冠产业园宿舍A2栋4楼412-414室 |
专利法律状态
2019-12-13
授权
状态信息
授权
摘要
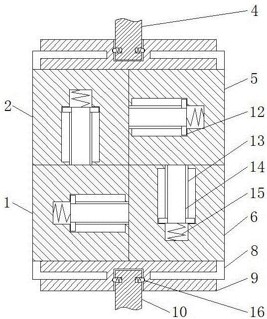
本实用新型公开了一种便于安装的平板电脑用夹具,包括第一滑板,第一滑板按顺时针方向依次设置有第二滑板、第三滑板和第四滑板,且第一滑板、第二滑板、第三滑板和第四滑板组成“田”字形,第二滑板靠近第一滑板的一侧、第三滑板靠近第二滑板的一侧、第四滑板靠近第三滑板的一侧和第一滑板靠近第四滑板的一侧均开设有滑槽,四个滑槽的内壁均滑动连接有滑杆,四个滑杆的一端分别与第一滑板、第二滑板、第三滑板和第四滑板的侧壁固定相连,四个滑杆的另一端均固定连接有第一弹簧,四个第一弹簧远离滑杆的一端与滑槽的内壁固定相连。本实用新型利用四个可调节距离的夹板来实现方便夹住不同尺寸平板电脑的目的。


