授权公布号:CN207974941U
氧化锆陶瓷活塞体
有效
申请
2018-03-15
申请公布
1970-01-01
授权
2018-10-16
预估到期
2028-03-15
| 申请号 | CN201820353151.9 |
| 申请日 | 2018-03-15 |
| 授权公布号 | CN207974941U |
| 授权公告日 | 2018-10-16 |
| 分类号 | F04B39/00;F02F3/00;F16J1/00;F16J1/01 |
| 分类 | 液体变容式机械;液体泵或弹性流体泵; |
| 申请人名称 | 浙江宏泰锆业科技有限公司 |
| 申请人地址 | 浙江省湖州市德清临溪街718号 |
专利法律状态
2018-10-16
授权
状态信息
授权
摘要
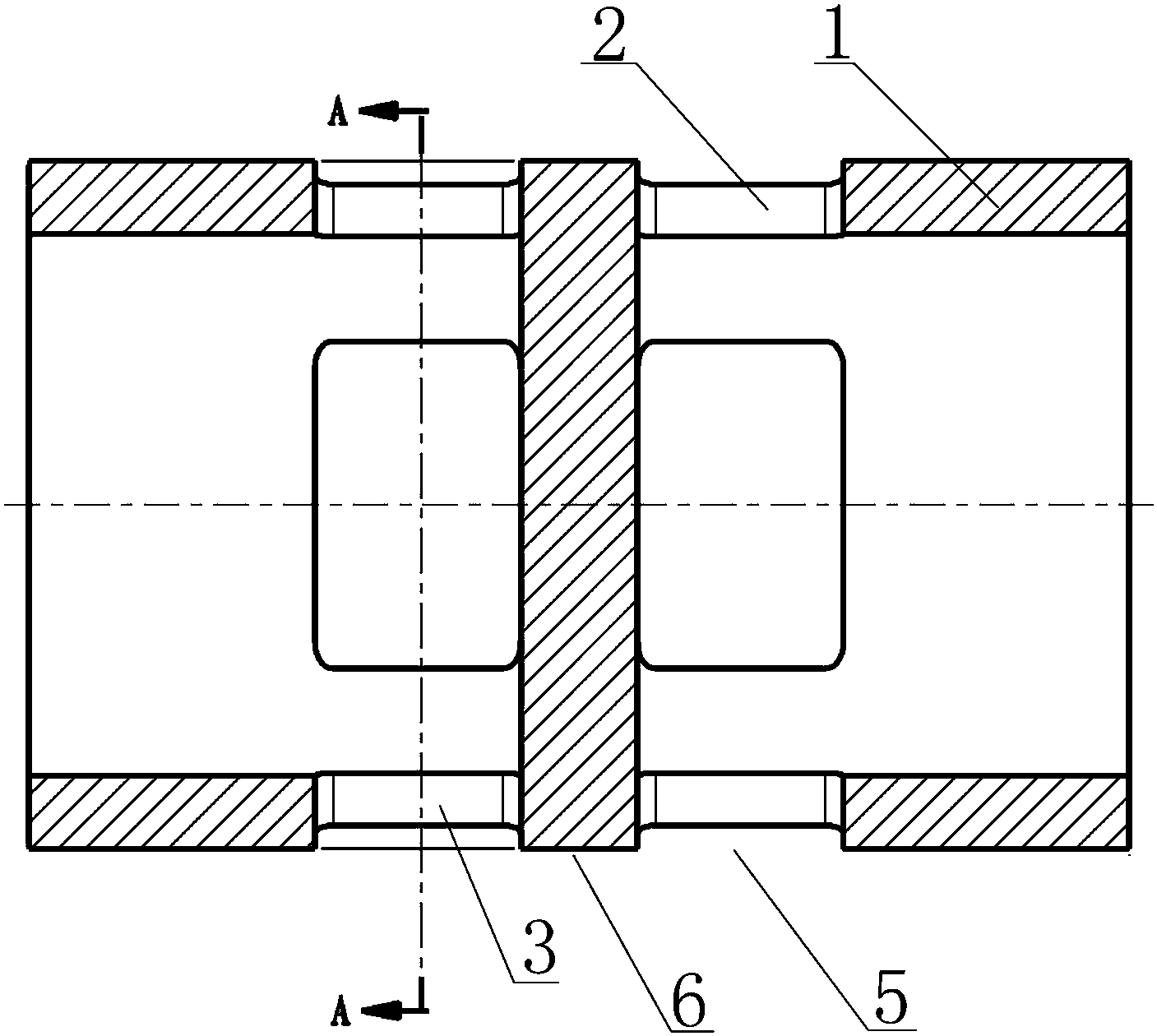
氧化锆陶瓷活塞体,它包括一与活塞缸配套的、用纳米氧化锆材料制作而成的筒状活塞体,所述的筒状活塞体的外壁面上至少设置有两处轴向布置的、每处在同一圆环上对称相切的三块径向圆缺,并使径向圆缺的中间切口连通筒状活塞体的内腔;所述筒状活塞体的外壁面上设置有轴向相邻的两处、每处在同一圆环上对称相切的三块径向圆缺,所述三块径向圆缺的宽度大于两处轴向间隔的距离;所述径向圆缺与筒状活塞体的内圆相切切口径向宽度大于相邻两径向圆缺与筒状活塞体的内圆相切点的径向距离;它具有结构简单,使用方便可靠,热稳定性好,密度高,强度好,耐磨损,防腐蚀,密封效果好,使用寿命长等特点。


