授权公布号:CN217264817U
一种复合容量灌装阀
有效
申请
2022-04-07
申请公布
1970-01-01
授权
2022-08-23
预估到期
2032-04-07
| 申请号 | CN202220790718.5 |
| 申请日 | 2022-04-07 |
| 授权公布号 | CN217264817U |
| 授权公告日 | 2022-08-23 |
| 分类号 | B67C3/28;B67C3/26 |
| 分类 | 开启或封闭瓶子、罐或类似的容器;液体的贮运; |
| 申请人名称 | 安丘市鼎正机械设备有限公司 |
| 申请人地址 | 山东省潍坊市安丘市新安街道汶水北路149号 |
专利法律状态
2022-08-23
授权
状态信息
授权
摘要
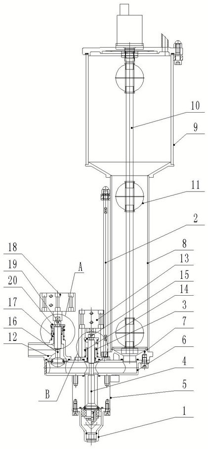
本实用新型公开了一种复合容量灌装阀,属于灌装技术领域,包括灌装阀体、设置在灌装阀体一端的进液阀、设置在灌装阀体另一端的定容量组件、以及连通设置在灌装阀体下端的阀座,所述定容量组件包括量杯座,所述量杯座与灌装阀体连通设置;所述量杯座上设有第一量杯,所述第一量杯的顶部连通设置第二量杯,所述第二量杯为带有圆锥形底部的圆筒结构,所述第二量杯的圆锥形底部与第一量杯连接;所述第一量杯的直径小于第二量杯的直径;所述定容量组件还包括磁尺滑动杆,所述磁尺滑动杆贯穿第一量杯及第二量杯,所述磁尺滑动杆上连接有浮球;本实用新型可以同时具有大容量和小容量两种灌装方式,降低了灌装成本,并且具有适用范围广的优点。


