授权公布号:CN203653587U
热熔渣干法处理及余热利用系统
失效
申请
2013-11-15
申请公布
1970-01-01
授权
2014-06-18
预估到期
2023-11-15
| 申请号 | CN201320724239.4 |
| 申请日 | 2013-11-15 |
| 授权公布号 | CN203653587U |
| 授权公告日 | 2014-06-18 |
| 分类号 | C21B3/06;F27D17/00 |
| 分类 | 铁的冶金; |
| 申请人名称 | 四川川润股份有限公司 |
| 申请人地址 | 四川省成都市郫县现代工业港北区港北六路85号 |
专利法律状态
2023-12-01
专利权的终止
状态信息
专利权有效期届满;IPC(主分类):C21B3/06;专利号:ZL2013207242394;申请日:20131115;授权公告日:20140618;终止日期:
2014-06-18
授权
状态信息
授权
摘要
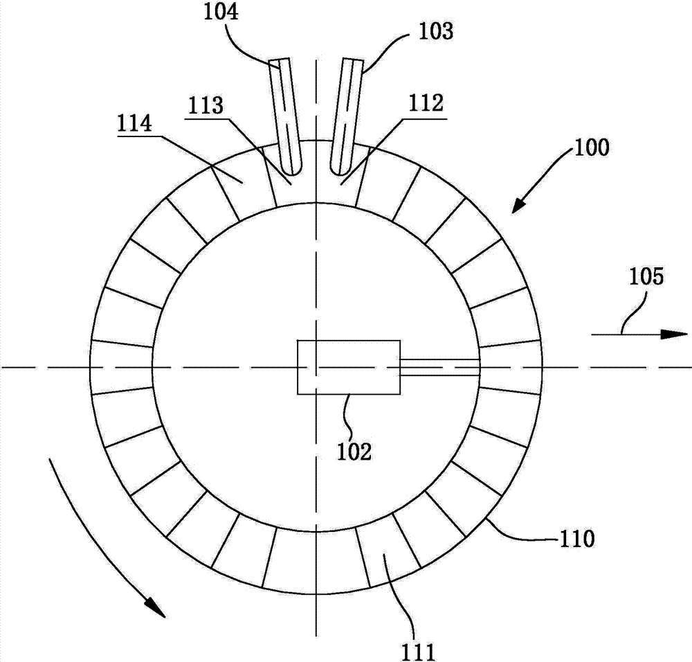
本实用新型公开了一种热熔渣干法处理及余热利用系统,包括:环形的运转轨道,该环形的运转轨道的不同位置设置有热料入口、冷料入口和出渣口;渣罐,用于装热熔渣,并至少为两个,且排列在所述环形的运转轨道上,所述至少为两个渣罐中的一个在通过所述热料入口装上热熔渣之后沿所述环形的运转轨道运行至冷料入口,并由冷料入口向该渣罐添加冷料,添加冷料后的渣罐继续沿所述环形的运转轨道运行至所述出渣口;经所述出渣口排出的热熔渣通过余热利用系统进行回收利用。不产生大量的水蒸气及硫化物的排放,具有能耗低、环保、低碳的优点。


