授权公布号:CN216115525U
螺旋翅片盘管烟气换热器
有效
申请
2021-10-26
申请公布
1970-01-01
授权
2022-03-22
预估到期
2031-10-26
| 申请号 | CN202122587752.0 |
| 申请日 | 2021-10-26 |
| 授权公布号 | CN216115525U |
| 授权公告日 | 2022-03-22 |
| 分类号 | F28D7/02;F28F1/34;F23J15/06 |
| 分类 | 一般热交换; |
| 申请人名称 | 青岛凯能环保科技股份有限公司 |
| 申请人地址 | 山东省青岛市胶州市北关工业园贵州支路3号 |
专利法律状态
2024-02-27
专利权质押登记、变更及注销
状态信息
专利权质押登记;IPC(主分类):F28D7/02;登记号:Y2024370010019;登记日:20240207;出质人:青岛凯能环保科技股份有限公司;质权人:中国人民财产保险股份有限公司青岛市分公司;实用新型名称:螺旋翅片盘管烟气换热器;申请日:20211026;授权公告日:20220322
2022-03-22
授权
状态信息
授权
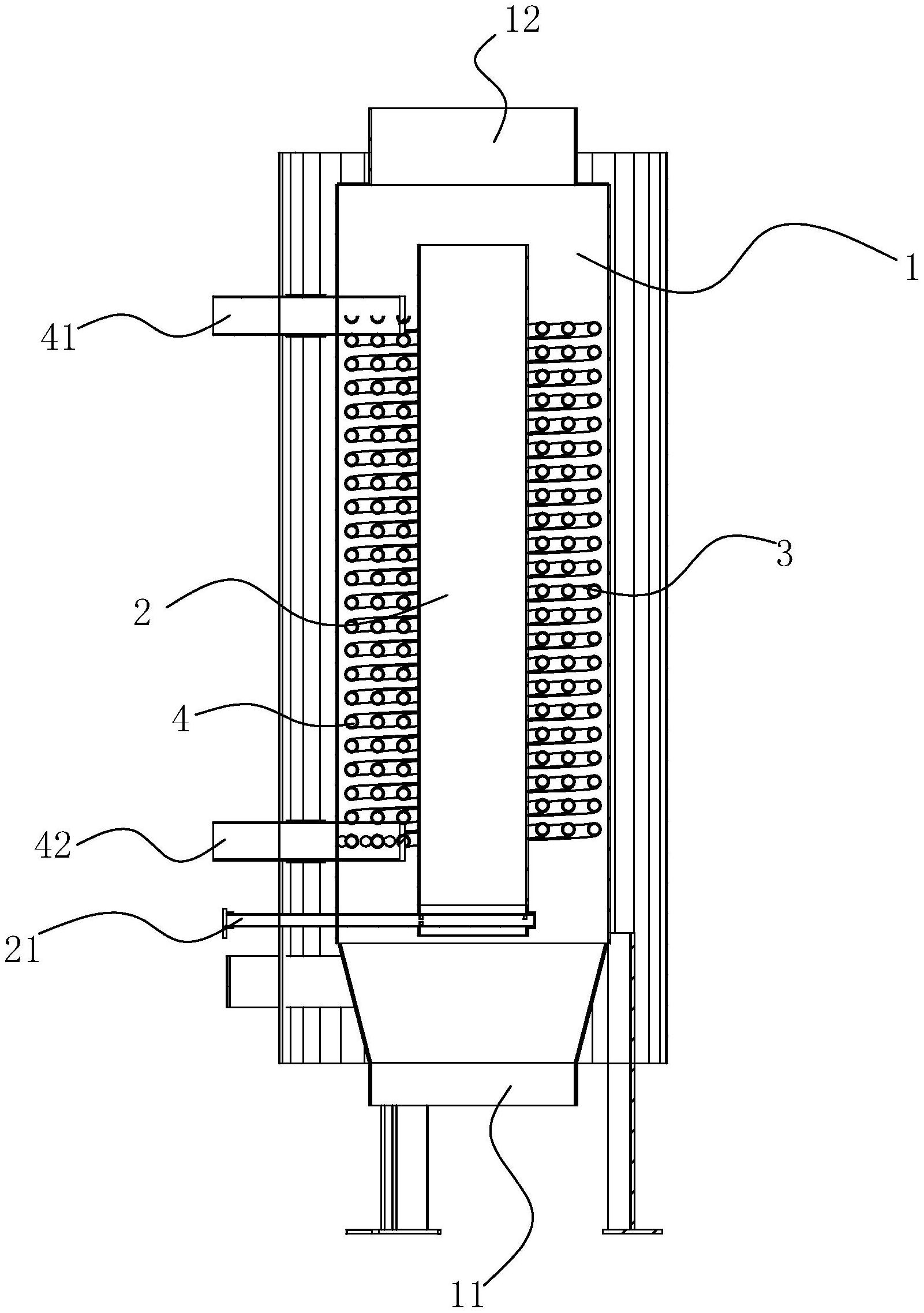
摘要
本实用新型公开了一种螺旋翅片盘管烟气换热器,涉及烟气余热节能技术领域,其技术方案要点是包括壳体、设置在壳体内部的旁路烟道、围绕旁路烟道设置的翅片以及沿翅片表面铺设的水管;旁路烟道的轴线与壳体的轴线重合;壳体的一端开有供烟气进入的进烟口,壳体的另一端开设有供烟气排出的排烟口;水管的一端连通有进水管,另一端连通有出水管。本申请解决了旁路烟道的布置问题,既最大的节省了设备空间,又有可以使旁路烟道发挥有效的作用。


