授权公布号:CN216171411U
内燃机尾气余热脱硝一体化喷射扰流混合装置
有效
申请
2021-09-30
申请公布
1970-01-01
授权
2022-04-05
预估到期
2031-09-30
| 申请号 | CN202122392537.5 |
| 申请日 | 2021-09-30 |
| 授权公布号 | CN216171411U |
| 授权公告日 | 2022-04-05 |
| 分类号 | B01D53/94;B01D53/56;B01D53/34 |
| 分类 | 一般的物理或化学的方法或装置; |
| 申请人名称 | 青岛凯能环保科技股份有限公司 |
| 申请人地址 | 山东省青岛市胶州市北关工业园贵州支路3号 |
专利法律状态
2024-02-27
专利权质押登记、变更及注销
状态信息
专利权质押登记;IPC(主分类):B01D53/94;登记号:Y2024370010019;登记日:20240207;出质人:青岛凯能环保科技股份有限公司;质权人:中国人民财产保险股份有限公司青岛市分公司;实用新型名称:内燃机尾气余热脱硝一体化喷射扰流混合装置;申请日:20210930;授权公告日:20220405
2022-04-05
授权
状态信息
授权
摘要
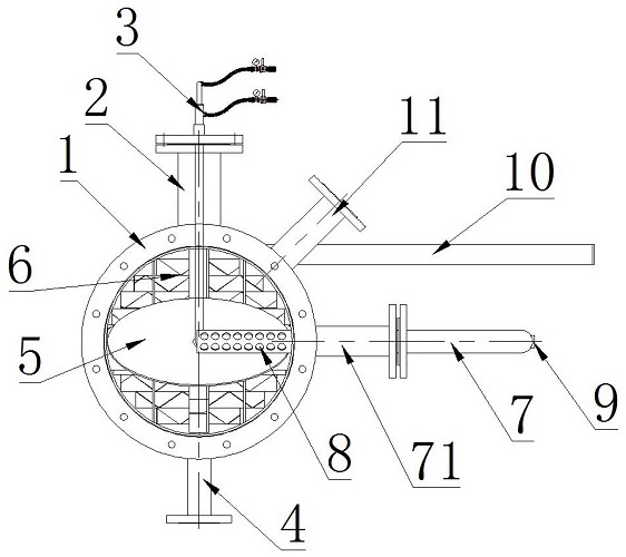
本实用新型公开了一种内燃机尾气余热脱硝一体化喷射扰流混合装置,属于内燃机发电机组尾气SCR处理领域技术领域。其技术方案为:包括烟道,烟道进气口的上端设置有双流体喷枪接管,双流体喷枪接管可拆卸地连接有双流体喷枪;烟道的下端设置有排污管;所述烟道内部位于进气口处设置有扰流板,扰流板与烟道轴向的夹角为锐角。本实用新型在烟道内部增设扰流板,使得还原剂氨气与烟气在通过扰流板时形成剧烈的涡旋扰动,增加了还原剂与烟气的混合均匀程度。


