授权公布号:CN216127072U
一种结构新颖的鹰嘴钳
有效
申请
2021-11-23
申请公布
1970-01-01
授权
2022-03-25
预估到期
2031-11-23
| 申请号 | CN202122880443.2 |
| 申请日 | 2021-11-23 |
| 授权公布号 | CN216127072U |
| 授权公告日 | 2022-03-25 |
| 分类号 | B25B5/04;B25B5/16;B25G1/10 |
| 分类 | 手动工具;轻便机动工具;手动器械的手柄;车间设备;机械手; |
| 申请人名称 | 徐州巨力工具制造有限公司 |
| 申请人地址 | 江苏省徐州市邳州市碾庄镇工业园区 |
专利法律状态
2022-03-25
授权
状态信息
授权
摘要
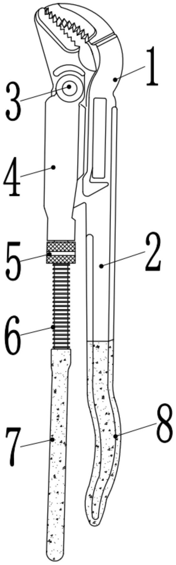
本实用新型公开了一种结构新颖的鹰嘴钳,包括上钳体和下钳体,下钳体包括握把和套铁,套铁的一端插接有销轴,且套铁通过销轴与握把之间呈活动连接,握把的一端开设有下钳齿,且上钳体的一端开设有上钳齿,上钳体远离上钳齿的另一端弯折有弯折部,且上钳体位于上钳齿与弯折部之间一侧外壁的中心处开设有贯穿上钳体的钳槽,弯折部远离上钳体的另一端焊接有丝杠。本实用新型先给上钳体施以靠紧下钳体的力,这样上钳体就可以上下自由滑动,可迅速到达合适位置,随后转动调节螺筒,调节螺筒沿螺纹连接的丝杠与套铁端口处贴合,从而实现对上钳体调节定位的目的,这样也可以快速调节鹰嘴钳的开口量,操作简单,可以节省很多时间。


