授权公布号:CN208945975U
一种多功能四合一管子钳
有效
申请
2018-08-02
申请公布
1970-01-01
授权
2019-06-07
预估到期
2028-08-02
| 申请号 | CN201821233308.0 |
| 申请日 | 2018-08-02 |
| 授权公布号 | CN208945975U |
| 授权公告日 | 2019-06-07 |
| 分类号 | B25B5/16 |
| 分类 | 手动工具;轻便机动工具;手动器械的手柄;车间设备;机械手; |
| 申请人名称 | 徐州巨力工具制造有限公司 |
| 申请人地址 | 江苏省徐州市邳州市碾庄镇工业园区 |
专利法律状态
2019-06-07
授权
状态信息
授权
摘要
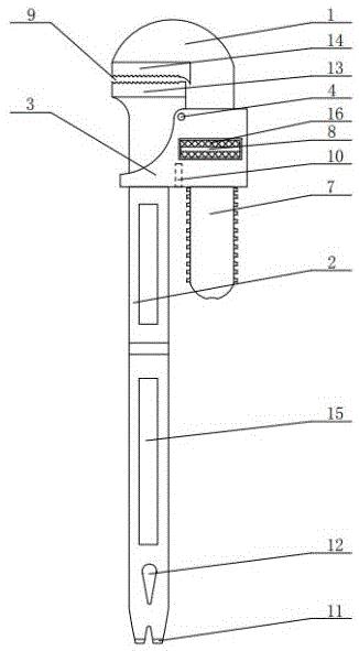
一种多功能四合一管子钳,它涉及管道安装技术设备领域,具体涉及一种多功能四合一管子钳。第一牙头设置在钳柄上端,撬棍头设置在钳柄下端,起钉孔开在撬棍头上;钳柄中部设置有空槽,调节螺母塞入空槽中,钳柄下表面中部内侧还设置有销键,销键将钳套内部分为左右两部分;固定孔设置在钳柄左上角,钳柄套入钳套左侧内部并通过固定孔与螺丝连接固定;钳头连接调节杆,调节杆套入钳套右侧内部与调节螺母中,第二牙头设置在钳头下端,第一牙头与第二牙头组成钳口。采用上述技术方案后,本实用新型有益效果为:装置拆装简易,多种功能不但实用,而且使用方便,还可随时更换零部件,减少工作时需要带上的工具,节省了空间、重量还提高了工作效率。


