授权公布号:CN216502642U
一种鹰嘴钳加工用原料切割装置
有效
申请
2021-11-29
申请公布
1970-01-01
授权
2022-05-13
预估到期
2031-11-29
| 申请号 | CN202122947664.7 |
| 申请日 | 2021-11-29 |
| 授权公布号 | CN216502642U |
| 授权公告日 | 2022-05-13 |
| 分类号 | B23D19/00;B23D33/00;B23D33/02 |
| 分类 | 机床;不包含在其他类目中的金属加工; |
| 申请人名称 | 徐州巨力工具制造有限公司 |
| 申请人地址 | 江苏省徐州市邳州市碾庄镇工业园区 |
专利法律状态
2022-05-13
授权
状态信息
授权
摘要
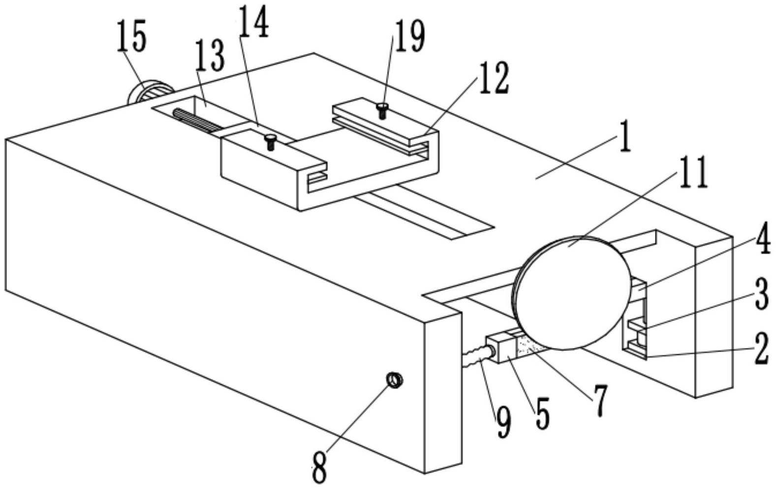
本实用新型公开了一种鹰嘴钳加工用原料切割装置,包括切割台,切割台一侧的内壁上开设置有安装槽,且安装槽底部的内壁上通过螺栓固定有液压缸,液压缸的输出端上通过螺栓固定有升降座,升降座底部的外壁上通过螺栓固定有水盒,且水盒一侧的外壁上开设有透水槽,水盒一侧的外壁上设置有海绵,切割台一侧的外壁上通过螺栓固定有进水管。本实用新型通过进水管和软管能够将冷水通入到水盒的内部,海绵能够将冷水吸附,切盘与海绵接触时,能够对切盘进行降温处理,避免切盘温度过高损坏,延长了切盘的使用寿命,液压缸能够带动升降座升降,进而能够带动第一电机和切盘升降,第一电机可以带动切盘转动对原材料进行切割,更加的自动化,使用非常方便。


