授权公布号:CN2592385Y
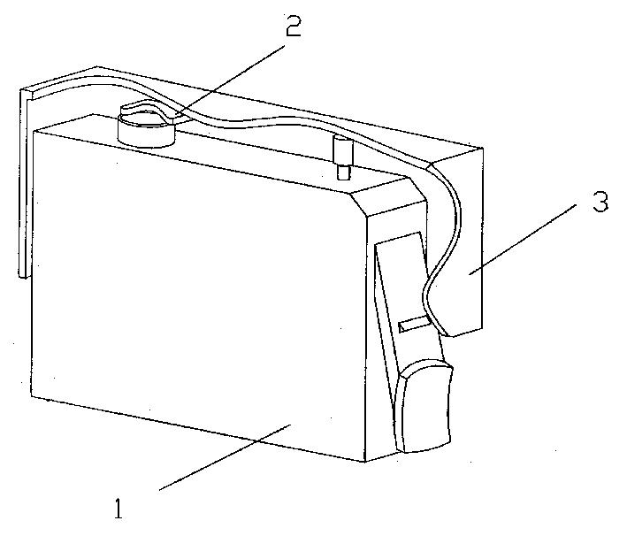
墨盒封套
失效
申请
2002-12-27
申请公布
1970-01-01
授权
2003-12-17
预估到期
2012-12-27
| 申请号 | CN02294992.5 |
| 申请日 | 2002-12-27 |
| 授权公布号 | CN2592385Y |
| 授权公告日 | 2003-12-17 |
| 分类号 | B41J2/175 |
| 分类 | 印刷;排版机;打字机;模印机〔4〕; |
| 申请人名称 | 嘉兴天马打印机耗材有限公司 |
| 申请人地址 | 浙江省嘉善县惠民工业园区 |
专利法律状态
2021-10-08
授权
状态信息
授权
2008-02-20
专利权的终止(未缴年费专利权终止)
状态信息
专利权的终止(未缴年费专利权终止);授权公告日:2003.12.17
2003-12-17
实用新型专利权授予
状态信息
授权
摘要
墨盒封套与墨盒配套使用。其上底部与墨盒出墨口的对应处配有密封垫;其左侧和右侧的内壁上,与墨盒左右侧锁钩和弹性锁钩的对应处各制有锁块;其上底部的另一侧制有顶块。本实用新型可以与墨盒反复扣上、卸下,解决了已有技术除去一次性扭把后带来漏墨的技术难题。


