授权公布号:CN217521481U
碳粉补充容器
有效
申请
2022-06-19
申请公布
1970-01-01
授权
2022-09-30
预估到期
2032-06-19
| 申请号 | CN202221530018.9 |
| 申请日 | 2022-06-19 |
| 授权公布号 | CN217521481U |
| 授权公告日 | 2022-09-30 |
| 分类号 | G03G15/08 |
| 分类 | 摄影术;电影术;利用了光波以外其他波的类似技术;电记录术;全息摄影术〔4〕; |
| 申请人名称 | 北京莱盛高新技术有限公司 |
| 申请人地址 | 北京市海淀区农大南路1号硅谷亮城5号楼7层 |
专利法律状态
2022-09-30
授权
状态信息
授权
2022-06-19
公布
状态信息
公布
摘要
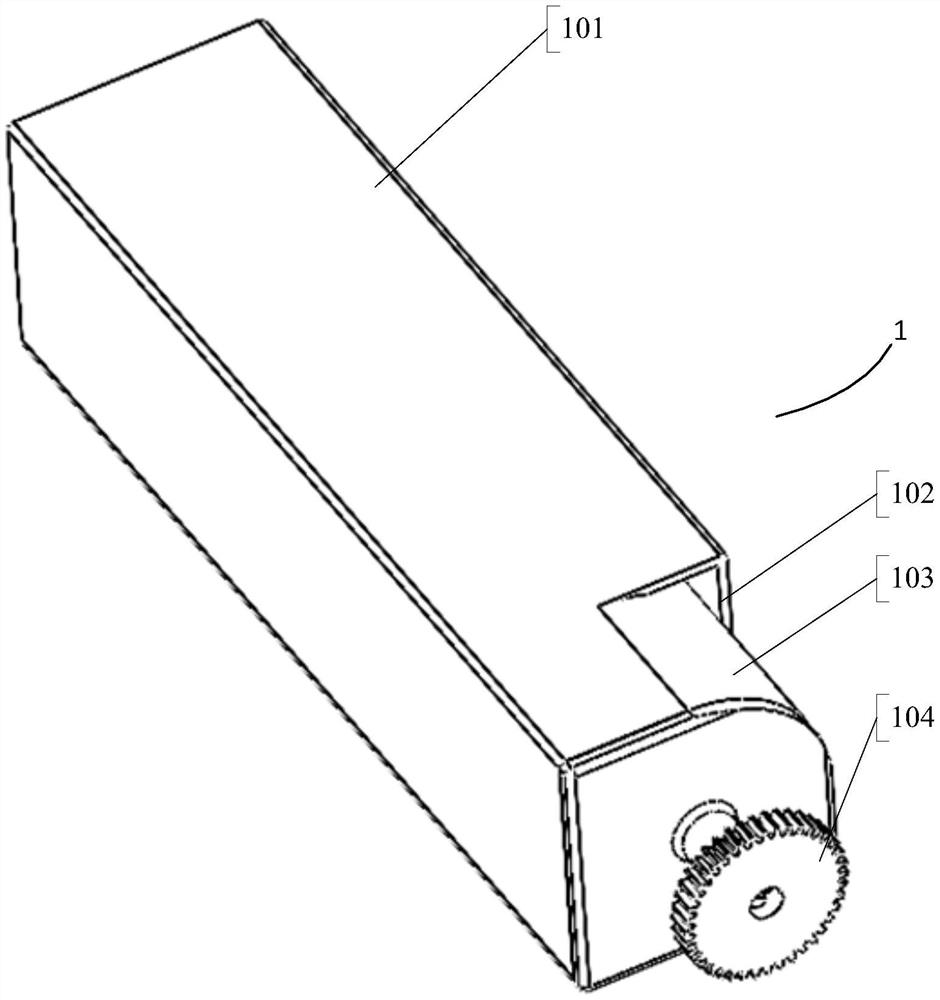
本实用新型提供了一种碳粉补充容器,包括壳体和设置在所述壳体内的碳粉容器,以及在所述壳体上设置的碳粉出口,在所述所述碳粉容器内设置有碳粉搅拌轴;所述碳粉搅拌轴与设置在所述壳体上的传动机构连接;在所述壳体外部设置有下凹的上盖限位凸起避让结构;当所述碳粉补充容器装配到打印设备中,所述上盖限位凸起避让结构容纳所述打印设备的上盖限位凸起通过。本实用新型可以广泛应用于激光打印设备的碳粉补充技术领域。


