授权公布号:CN102922257B
车轮轴承压装装置
有效
申请
2012-11-19
申请公布
2013-02-13
授权
2015-05-13
预估到期
2032-11-19
| 申请号 | CN201210468927.9 |
| 申请日 | 2012-11-19 |
| 申请公布号 | CN102922257A |
| 申请公布日 | 2013-02-13 |
| 授权公布号 | CN102922257B |
| 授权公告日 | 2015-05-13 |
| 分类号 | B23P19/02 |
| 分类 | 机床;不包含在其他类目中的金属加工; |
| 申请人名称 | 江苏中联铝业有限公司 |
| 申请人地址 | 湖南省岳阳市汩罗市循环经济产业园区振升南路以南 |
专利法律状态
2018-11-30
专利权质押合同登记的生效、变更及注销
状态信息
专利权质押合同登记的生效;IPC(主分类):B23P19/02;登记号:2018430000104;登记生效日:20181108;出质人:湖南中联志远车轮有限公司;质权人:湖南汨罗农村商业银行股份有限公司;发明名称:车轮轴承压装装置;申请日:20121119;授权公告日:20150513
2016-06-08
专利申请权、专利权的转移
状态信息
专利权的转移;IPC(主分类):B23P19/02;登记生效日:20160516;变更事项:专利权人;变更前:江苏中联铝业有限公司;变更后:湖南中联志远车轮有限公司;变更事项:地址;变更前:214106 江苏省无锡市锡山区厚桥中东村;变更后:414400 湖南省岳阳市汩罗市循环经济产业园区振升南路以南
2015-05-13
授权
状态信息
授权
2013-03-20
实质审查的生效
状态信息
实质审查的生效;IPC(主分类):B23P19/02;申请日:20121119
2013-02-13
公布
状态信息
公布
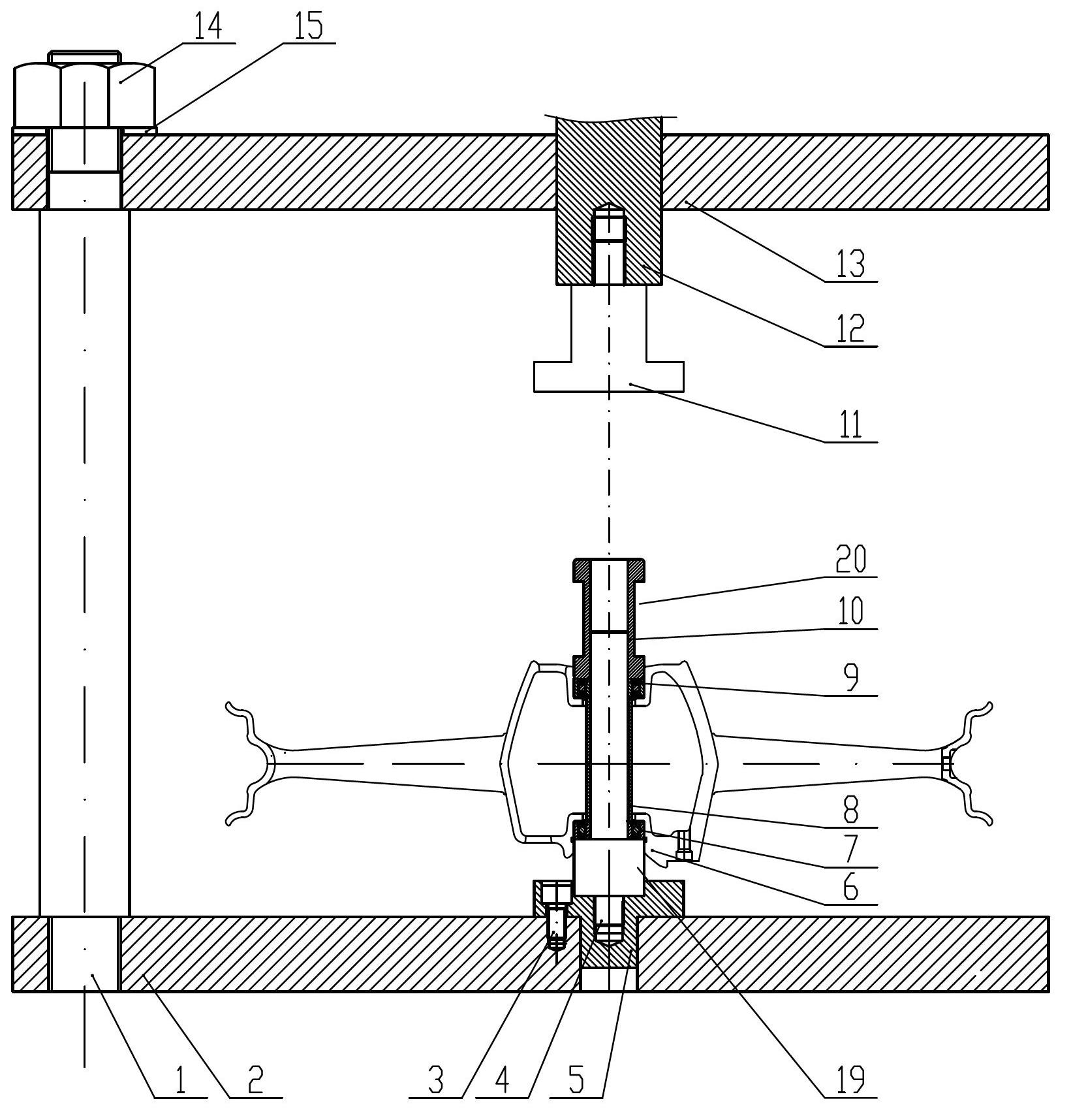
摘要
本发明涉及一种车轮轴承压装装置,用于压装车轮的轴承,其包括由固定立柱连接的压机底板与压机上连接板,压机底板上固定有定位导向杆,压机上连接板上滑动配合有压机滑动柱,压机滑动柱的下端固定有上连接压柱,上连接压柱的轴线与定位导向杆的轴线重合;定位导向杆的直径小于中间撑杆的内径,定位导向杆的下部设置有外径小于第一轴承孔内径的轴肩,定位导向杆向上依次穿过第一轴承孔、中心通孔及第二轴承孔后伸出车轮轮毂的上端面,定位导向杆的伸出端上套装有移动压套,移动压套的外径小于第二轴承孔的内径。本发明采用了加长型定位导向杆与移动压套相接合来压装车轮的两个轴承,解决了轴承压不紧的难题。


