授权公布号:CN105289892B
车轮涂装庇护装置
有效
申请
2015-11-18
申请公布
2016-02-03
授权
2018-01-16
预估到期
2035-11-18
| 申请号 | CN201510795200.5 |
| 申请日 | 2015-11-18 |
| 申请公布号 | CN105289892A |
| 申请公布日 | 2016-02-03 |
| 授权公布号 | CN105289892B |
| 授权公告日 | 2018-01-16 |
| 分类号 | B05B12/30 |
| 分类 | 一般喷射或雾化;对表面涂覆液体或其他流体的一般方法〔2〕; |
| 申请人名称 | 江苏中联铝业有限公司 |
| 申请人地址 | 江苏省无锡市锡山区厚桥中东村 |
专利法律状态
2018-01-16
授权
状态信息
授权
2016-03-02
实质审查的生效
状态信息
实质审查的生效IPC(主分类):B05B 15/04申请日:20151118
2016-02-03
公布
状态信息
公开
摘要
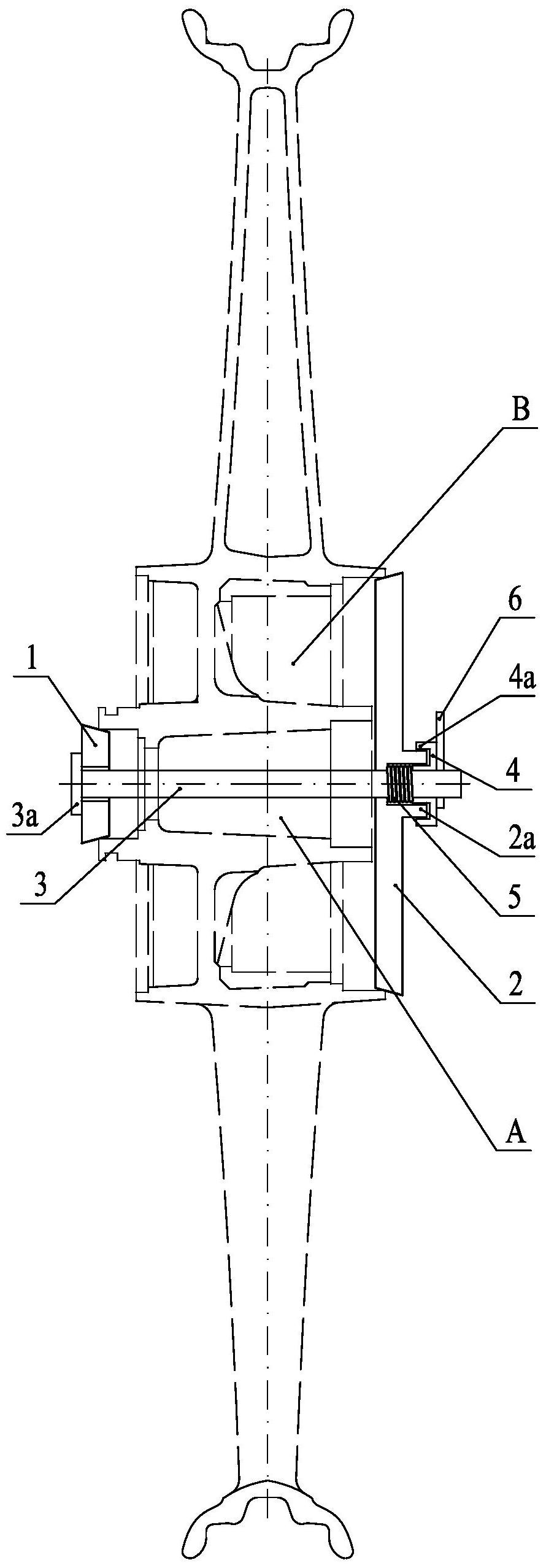
本发明涉及车轮涂装庇护装置,包括轴承孔庇护板和刹车套孔庇护板,所述轴承孔庇护板与刹车套孔庇护板通过可拆卸式连接机构相连接,其特征在于:所述轴承孔庇护板与轴承孔密封配合的外圆周面为内小外大的锥度斜面,轴承孔庇护板与轴承孔之间为锥度线密封;所述刹车套孔庇护板与刹车套孔密封配合的外圆周面为内小外大的锥度斜面,刹车套孔庇护板与刹车套孔之间为锥度线密封。本发明结构简单,设计合理,装夹拆卸方便快捷,能够大大提高生产效率;庇护板与对应孔之间的密封结构为锥度线密封,大大节约了材料,经济效益良好。


