授权公布号:CN217396101U
一种新能源汽车轮毂防护机构
有效
申请
2022-05-13
申请公布
1970-01-01
授权
2022-09-09
预估到期
2032-05-13
| 申请号 | CN202221182863.1 |
| 申请日 | 2022-05-13 |
| 授权公布号 | CN217396101U |
| 授权公告日 | 2022-09-09 |
| 分类号 | B60B7/00 |
| 分类 | 一般车辆; |
| 申请人名称 | 福建申利卡铝业发展有限公司 |
| 申请人地址 | 福建省泉州市南安市仑苍镇水暖高新技术园 |
专利法律状态
2022-09-09
授权
状态信息
授权
摘要
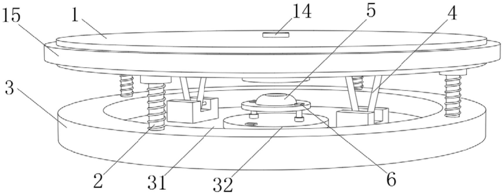
本实用新型公开了一种新能源汽车轮毂防护机构,包括盖板,盖板的底部通过伸缩组件与安装座固定连接,盖板的底部对称开设有滑槽,滑槽内部设有缓冲机构,盖板的下表面固定连接有压板,安装座的顶部开设有凹槽,凹槽的顶部设有安装板。本实用新型有益效果:通过设有的伸缩组件、滑槽、滑块、弹簧、活动杆和固定块,能够使得盖板和安装座发生相对的移动,对外部压力起到缓冲作用,避免了较大碰撞的发生,通过设有的压板、安装板与压力玩具垫或者压力感应器和控制器之间的配合,能够对驾驶员起到及时警报提醒的作用,从而避免轮毂受到损伤。


