授权公布号:CN209492974U
一种出入库双链输送机自动居中定位装置
有效
申请
2018-11-27
申请公布
1970-01-01
授权
2019-10-15
预估到期
2028-11-27
| 申请号 | CN201821961670.X |
| 申请日 | 2018-11-27 |
| 授权公布号 | CN209492974U |
| 授权公告日 | 2019-10-15 |
| 分类号 | B65G21/20;B65G47/24 |
| 分类 | 输送;包装;贮存;搬运薄的或细丝状材料; |
| 申请人名称 | 湖州久通物流机械有限公司 |
| 申请人地址 | 浙江省湖州市南浔区和孚镇陶家墩村 |
专利法律状态
2019-10-15
授权
状态信息
授权
摘要
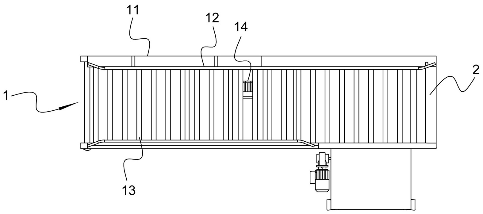
本实用新型提供一种出入库双链输送机自动居中定位装置,属于输送机技术领域。该出入库双链输送机自动居中定位装置包括第一输送机和居中定位件,第一输送机上设有定位处,居中定位件根据箱子的宽度移动第一预设距离以在第一输送机将箱子输送至定位处时止挡箱子使箱子的中心线与定位处的中心线所在直线重合。本实用新型中的第一输送机进行输送箱子,在第一输送机上设有定位处,居中定位件根据箱子的宽度移动第一预设距离以在第一输送机将箱子输送至定位处时止挡箱子使箱子的中心线与定位处的中心线所在直线重合,第一电机驱动动力结构带动护栏沿着预设方向移动第一预设距离,然后护栏止挡箱子,结构简单,操作简便,精度较高。


