授权公布号:CN214494426U
一种货物搬运架
有效
申请
2021-03-02
申请公布
1970-01-01
授权
2021-10-26
预估到期
2031-03-02
| 申请号 | CN202120454326.7 |
| 申请日 | 2021-03-02 |
| 授权公布号 | CN214494426U |
| 授权公告日 | 2021-10-26 |
| 分类号 | B65G1/04;A47B81/00 |
| 分类 | 输送;包装;贮存;搬运薄的或细丝状材料; |
| 申请人名称 | 北京思特博货架制造有限公司 |
| 申请人地址 | 北京市大兴区黄村镇桂村村民委员会东100米 |
专利法律状态
2021-10-26
授权
状态信息
授权
摘要
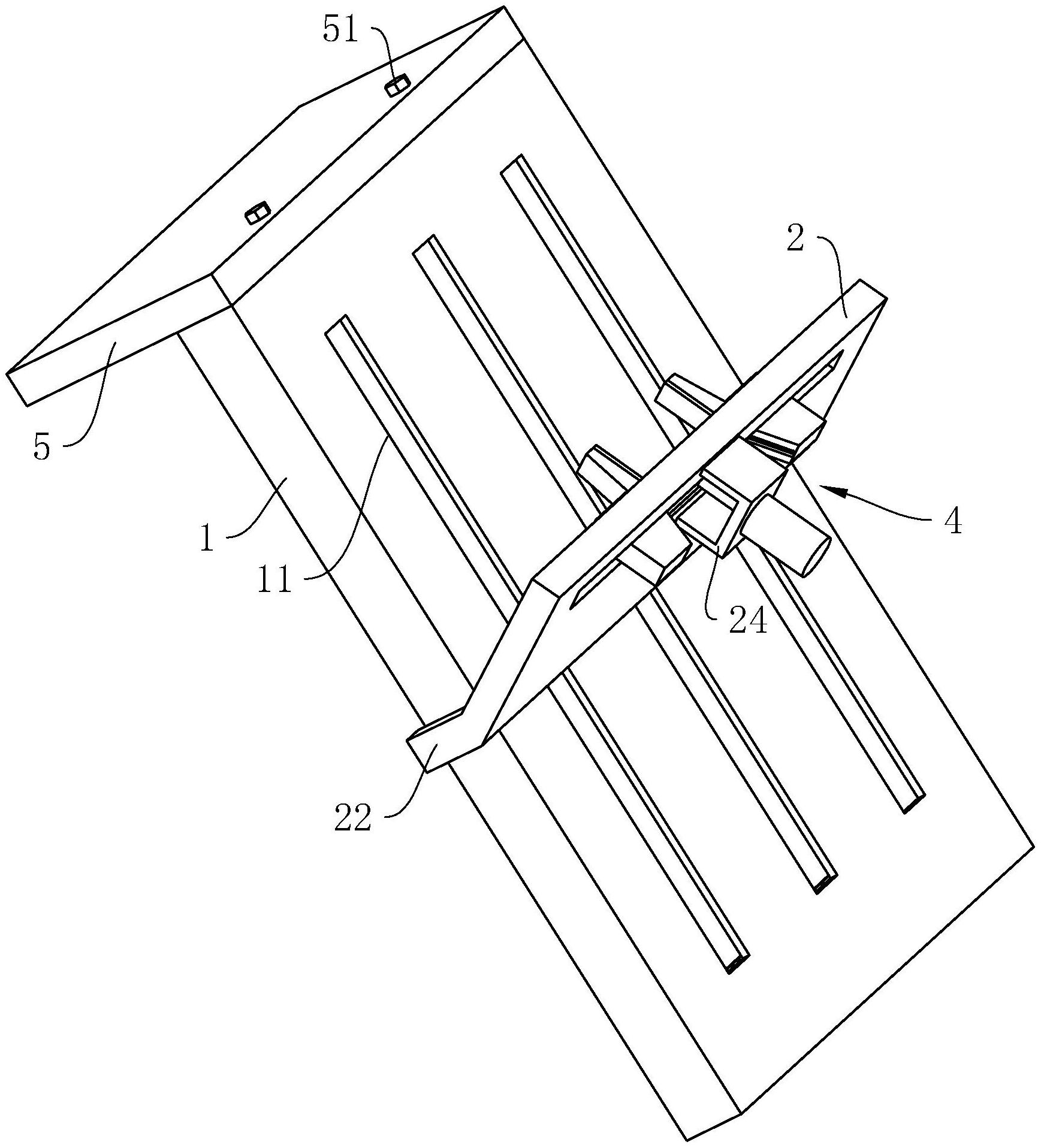
本申请涉及一种货物搬运架,涉及货物储存用品领域,其包括内部中空且倾斜设置的安装板、设置在安装板上的置物板、设置在安装板内且用于带动置物板移动的传动机构,所述传动机构包括电机、螺杆、限位杆,所述电机带动螺杆转动,所述螺杆沿安装板宽度方向设置且顶端转动连接在安装板的内顶壁上,所述限位杆平行螺杆设置且底端与安装板的内底壁固定连接,所述置物板靠近安装板的侧面固设有分别与螺杆、限位杆相对应的滑块,其中一个所述滑块套设在螺杆上且与其螺纹连接,另一个所述滑块套设在限位杆上且与其滑移连接。本申请具有节省人力并便于运送货物的效果。


