授权公布号:CN219838882U
一种冷轧钢带用仓储货架
有效
申请
2023-05-05
申请公布
1970-01-01
授权
2023-10-17
预估到期
2033-05-05
| 申请号 | CN202321049165.9 |
| 申请日 | 2023-05-05 |
| 授权公布号 | CN219838882U |
| 授权公告日 | 2023-10-17 |
| 分类号 | B65D25/10;B65D6/08 |
| 分类 | 输送;包装;贮存;搬运薄的或细丝状材料; |
| 申请人名称 | 北京思特博货架制造有限公司 |
| 申请人地址 | 北京市大兴区黄村镇桂村村民委员会东100米 |
专利法律状态
2023-10-17
授权
状态信息
授权
摘要
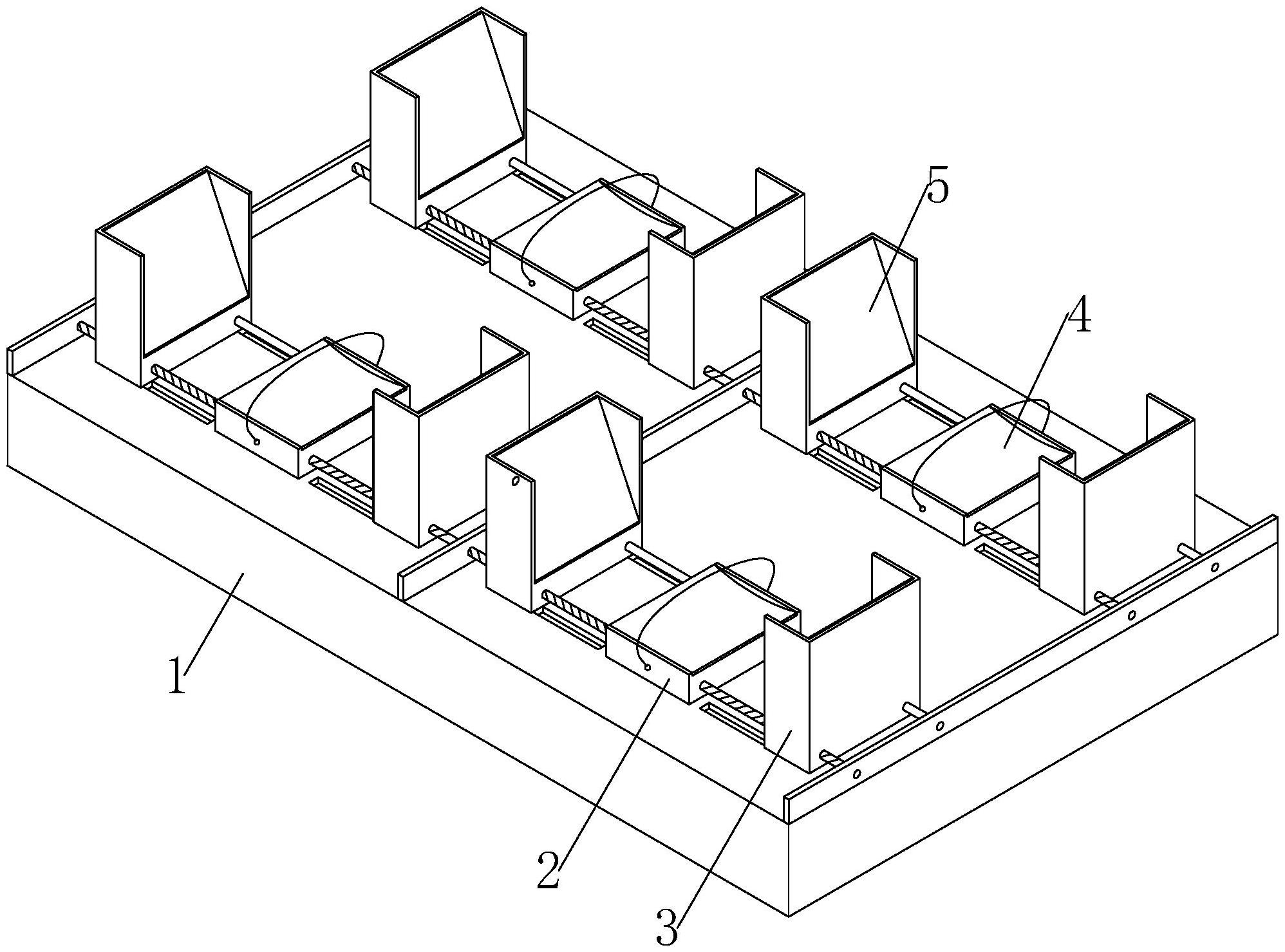
本申请公开了一种冷轧钢带用仓储货架,涉及冷轧钢带存储技术领域,改善无法更好的适应不同大小的冷轧钢带的问题,包括底座和设在底座上的多组放置机构,所述放置机构包括固定安装在底座上的放置座以及滑动安装在放置座两侧的两个夹持座,所述放置座的顶部开设有弧形槽,所述夹持座靠近放置座的一侧开设有斜向槽,所述放置座的内部转动贯穿有双向螺杆,所述双向螺杆的中部安装有驱动件,两个所述夹持座分别螺纹连接在双向螺杆的两端。本申请通过驱动件和双向螺杆的设置,可调节两个夹持座的间距,使冷轧钢带始终保持与放置座和夹持座相互抵接的状态,以便保证冷轧钢带放置的稳定性,更好的适应不同大小的冷轧钢带。


