授权公布号:CN214769325U
一种剪板机的固定装置
有效
申请
2021-03-25
申请公布
1970-01-01
授权
2021-11-19
预估到期
2031-03-25
| 申请号 | CN202120612358.5 |
| 申请日 | 2021-03-25 |
| 授权公布号 | CN214769325U |
| 授权公告日 | 2021-11-19 |
| 分类号 | B23D33/02;B23D15/06 |
| 分类 | 机床;不包含在其他类目中的金属加工; |
| 申请人名称 | 北京思特博货架制造有限公司 |
| 申请人地址 | 北京市大兴区黄村镇桂村村民委员会东100米 |
专利法律状态
2021-11-19
授权
状态信息
授权
摘要
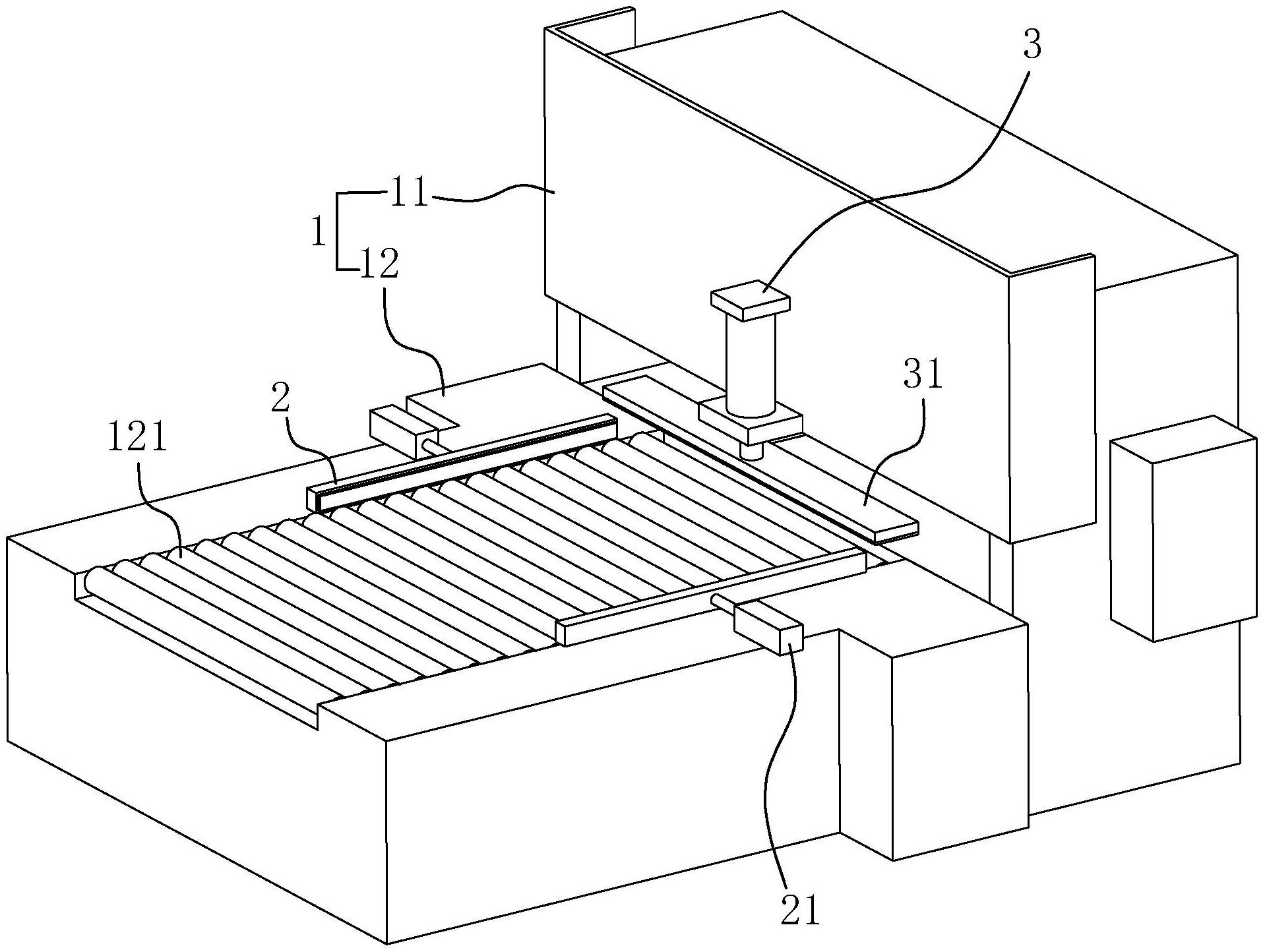
本申请涉及一种剪板机的固定装置,剪板机本体包括机体,机体一侧设置有工作台,工作台上设置有若干滚筒,所述滚筒两侧分别设置有将板材进行规整的杆体,杆体远离滚筒一侧设置有驱动杆体移动的驱动件,所述机体靠近所述工作台一侧设置有将板材进行按压的按压组件。本申请具有使板材能够较规整的进行放置的效果。


