授权公布号:CN214651047U
一种用于驶入式货架的牛腿梁结构
有效
申请
2021-03-02
申请公布
1970-01-01
授权
2021-11-09
预估到期
2031-03-02
| 申请号 | CN202120454386.9 |
| 申请日 | 2021-03-02 |
| 授权公布号 | CN214651047U |
| 授权公告日 | 2021-11-09 |
| 分类号 | B65G1/02;A47B91/02 |
| 分类 | 输送;包装;贮存;搬运薄的或细丝状材料; |
| 申请人名称 | 北京思特博货架制造有限公司 |
| 申请人地址 | 北京市大兴区黄村镇桂村村民委员会东100米 |
专利法律状态
2021-11-09
授权
状态信息
授权
摘要
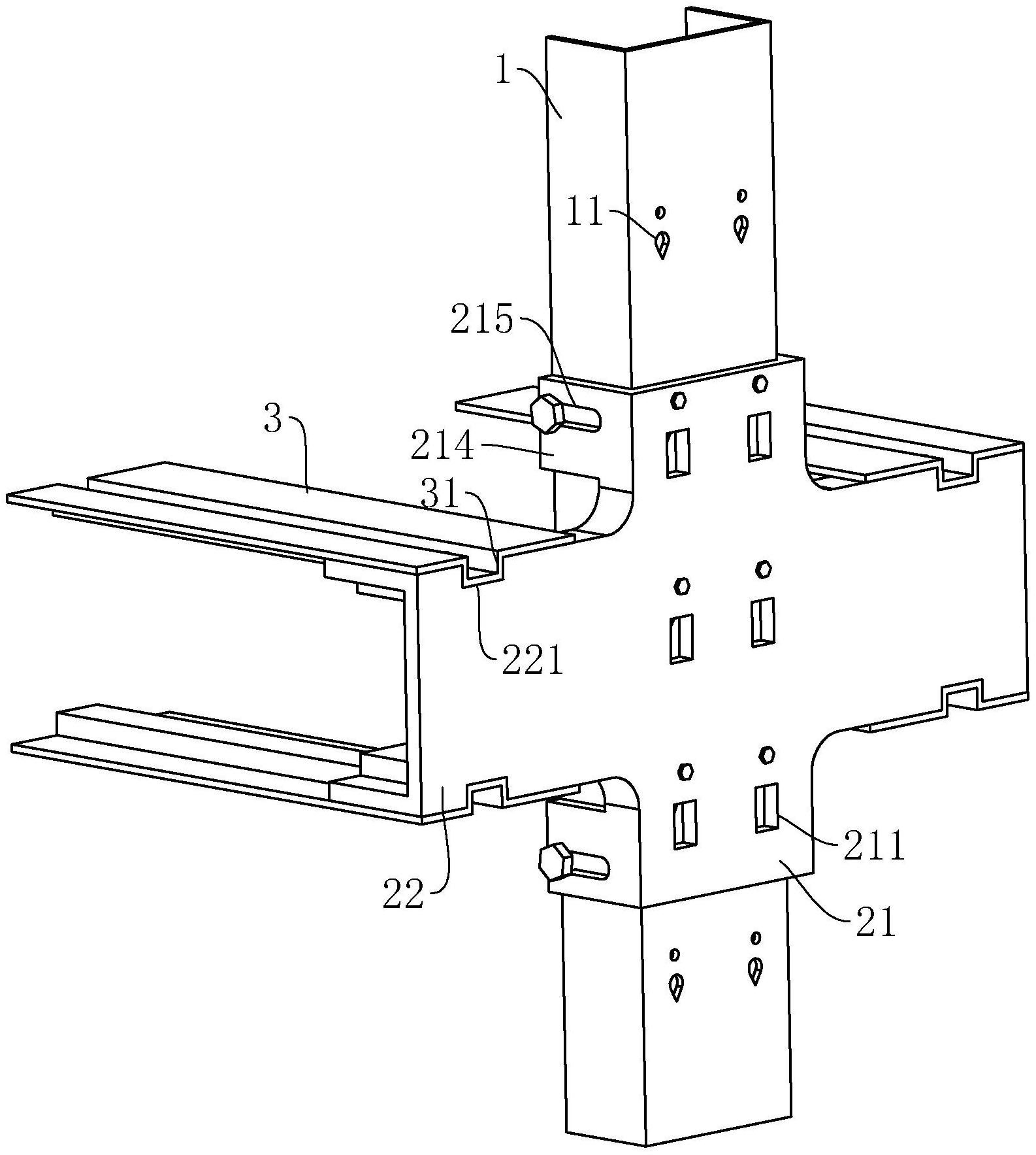
本申请涉及一种用于驶入式货架的牛腿梁结构,涉及仓储物流设备领域,其包括立柱、紧固组件、通过紧固组件安装在立柱上的牛腿架、通过紧固组件安装在牛腿架上的载重梁,所述牛腿架包括与立柱相贴合的竖板、分别固设在竖板沿其宽度方向的两端的侧支撑架,所述竖板靠近立柱的侧面上固设有挂钩,所述立柱上开设有与挂钩相适配的第一安装孔,所述挂钩钩挂在第一安装孔内,所述侧支撑架的顶端和底端分别开设有第二长圆孔,所述载重梁通过紧固组件安装在第二长圆孔处。本申请具有负载不同尺寸和强度的载重梁并提高牛腿梁的承载力的效果。


