授权公布号:CN220174846U
一种货板高度可调的货架
有效
申请
2023-05-04
申请公布
1970-01-01
授权
2023-12-15
预估到期
2033-05-04
| 申请号 | CN202321030233.7 |
| 申请日 | 2023-05-04 |
| 授权公布号 | CN220174846U |
| 授权公告日 | 2023-12-15 |
| 分类号 | A47F5/10;A47F5/00;A47B81/00;A47B57/06 |
| 分类 | 家具;家庭用的物品或设备;咖啡磨;香料磨;一般吸尘器; |
| 申请人名称 | 北京思特博货架制造有限公司 |
| 申请人地址 | 北京市大兴区黄村镇桂村村民委员会东100米 |
专利法律状态
2023-12-15
授权
状态信息
授权
摘要
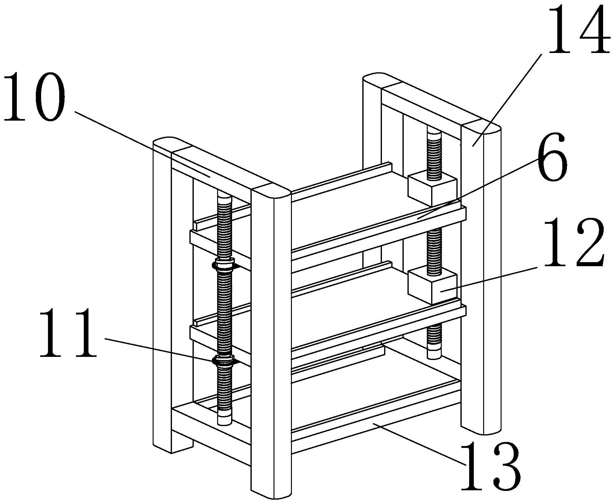
本申请公开了一种货板高度可调的货架,属于货架技术领域,包括。该一种货板高度可调的货架通过设置驱动机构,驱动机构包括转动手把、锥齿轮二、锥齿轮一,所述锥齿轮二固定设置于螺纹套上,所述转动手把转动连接在安装盒上,所述转动手把一端与锥齿轮二固定连接,所述锥齿轮一和锥齿轮二啮合连接。转动转动手把,使得锥齿轮二带动锥齿轮一转动,且锥齿轮一与螺纹套固定连接,即可带动螺纹套转动,螺纹套与货板转动连接,使得货板可以随着螺纹套转动升高二升高,实现货板的高度可以通过转动的圈数来进行高精度的距离调节,解决了现有的货架的调节只能由固定高度差进行调节,调节精度不高,无法与货物高度精准适配,因此会造成空间浪费的问题。


