授权公布号:CN214494432U
一种用于板材库的整存零取式堆垛机
有效
申请
2021-03-24
申请公布
1970-01-01
授权
2021-10-26
预估到期
2031-03-24
| 申请号 | CN202120601965.1 |
| 申请日 | 2021-03-24 |
| 授权公布号 | CN214494432U |
| 授权公告日 | 2021-10-26 |
| 分类号 | B65G1/04;B65G47/91;B65G61/00;B65G47/82 |
| 分类 | 输送;包装;贮存;搬运薄的或细丝状材料; |
| 申请人名称 | 北京思特博货架制造有限公司 |
| 申请人地址 | 北京市大兴区黄村镇桂村村民委员会东100米 |
专利法律状态
2021-10-26
授权
状态信息
授权
摘要
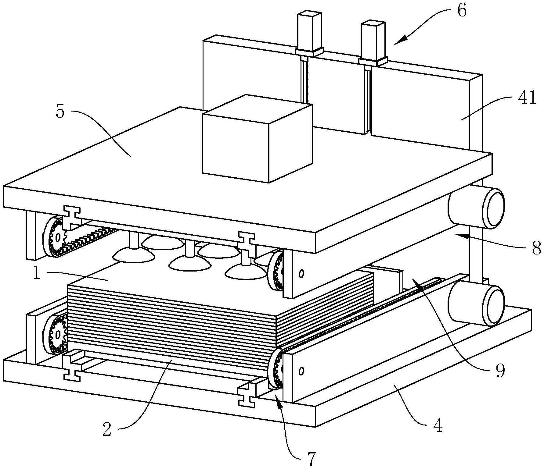
本申请涉及板材库堆垛设备技术领域,具体公开了一种用于板材库的整存零取式堆垛机,包括载货平台、安装平板、第一存取机构、第二存取机构;第一存取机构包括两个与载货平台滑移连接的支撑杆、两个支撑侧板、转动连接在两个支撑侧板之间的第一联动杆,第一联动杆和两个支撑杆之间分别设置有第一联动组件;第二存取机构包括两个与安装平板滑移连接的安装杆、设置在两个安装杆之间的安装板、多个固设在安装板上的真空吸盘、两个安装侧板、转动连接在两个安装侧板之间的第二联动杆,第二联动杆和两个安装杆之间分别设置有第二联动组件。该整存零取式堆垛机,便于载货平台板材的取放以及板材库的整存零取,还提高板材整存的稳定性。


