授权公布号:CN209317605U
一种全自动壶铃多色计量智能调色机
有效
申请
2018-11-23
申请公布
1970-01-01
授权
2019-08-30
预估到期
2028-11-23
| 申请号 | CN201821934486.6 |
| 申请日 | 2018-11-23 |
| 授权公布号 | CN209317605U |
| 授权公告日 | 2019-08-30 |
| 分类号 | B01F15/02;B01F15/00 |
| 分类 | 一般的物理或化学的方法或装置; |
| 申请人名称 | 南通华亮健身器材有限公司 |
| 申请人地址 | 江苏省南通市如东县新店镇东首 |
专利法律状态
2019-08-30
授权
状态信息
授权
摘要
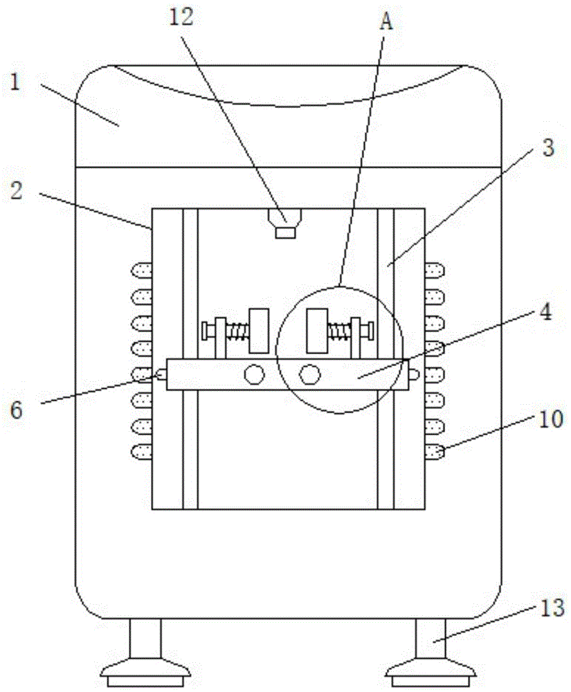
本实用新型涉及调色机设备技术领域,且公开了一种全自动壶铃多色计量智能调色机,包括调色机本体,所述调色机本体的正面开设有出料槽,所述出料槽内腔顶面的中部固定安装有出料管,所述出料槽内腔的上下两面固定套接有滑杆。该全自动壶铃多色计量智能调色机,通过滑杆、隔板、卡杆以及弹力弹簧之间的相互配合,隔板可沿着滑杆的外表面上下移动,从而改变隔板与出料管的距离,卡杆在弹力弹簧的作用下与卡槽活动套接便于固定隔板,防止隔板上下移动,进而方便工作人员根据料筒的大小调整隔板和出料管的距离,使得料筒紧邻出料管,防止颜料溅射到料筒的外部造成全自动壶铃多色计量智能调色机的污染。


