授权公布号:CN209316923U
一种举重床式多功能健身器
有效
申请
2018-11-22
申请公布
1970-01-01
授权
2019-08-30
预估到期
2028-11-22
| 申请号 | CN201821925980.6 |
| 申请日 | 2018-11-22 |
| 授权公布号 | CN209316923U |
| 授权公告日 | 2019-08-30 |
| 分类号 | A63B21/078;A63B21/075 |
| 分类 | 运动;游戏;娱乐活动; |
| 申请人名称 | 南通华亮健身器材有限公司 |
| 申请人地址 | 江苏省南通市如东县新店镇东首 |
专利法律状态
2019-08-30
授权
状态信息
授权
摘要
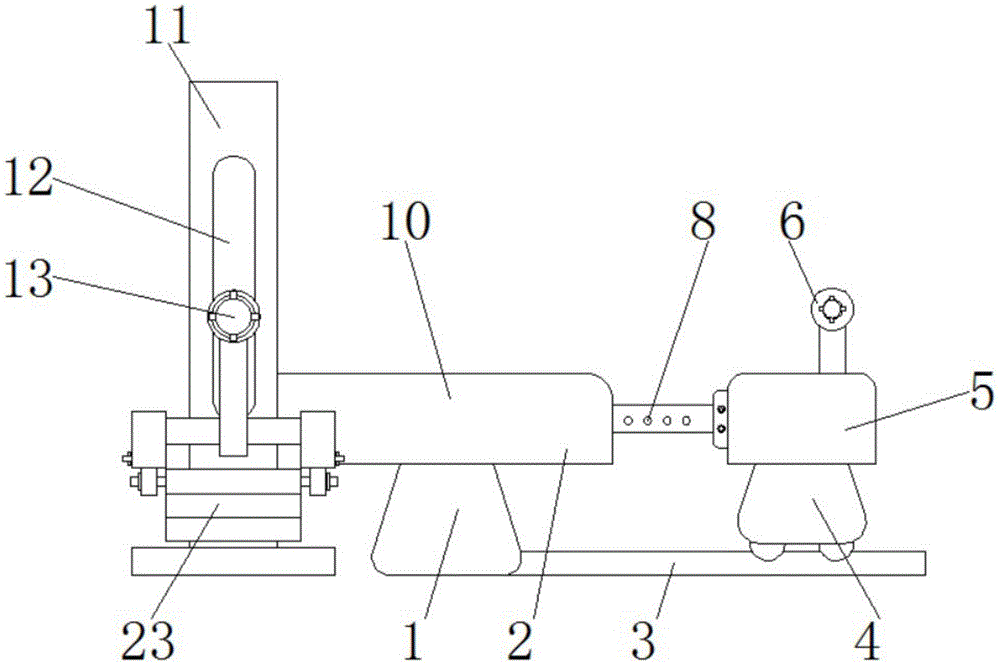
本实用新型涉及健身器材技术领域,且公开了一种举重床式多功能健身器,包括第一支撑底座,所述第一支撑底座的顶部固定安装有举重躺床板,所述举重躺床板的左端固定安装有承重支撑板,所述承重支撑板的内部开设有滑槽,所述滑槽的内部活动连接有举重杠铃,所述举重杠铃的两端均贯穿滑槽并延伸至承重支撑板的外侧面,举重杠铃的外侧面固定连接有衔接板。通过在第一支撑底座的顶部固定安装有举重躺床板,举重躺床板的左端固定连接有承重支撑板,以及在其开设有滑槽,从而使得内部的举重杠铃得以滑动,实现举重的作用,配合连接板的底部固定安装有连接套筒,使得其内部的延伸连杆得以延伸,从而便于连接不中重量的重量盘,实现的训练量调节的作用。


