授权公布号:CN218443834U
一种伸缩杆的自动化测试组件
有效
申请
2022-11-01
申请公布
1970-01-01
授权
2023-02-03
预估到期
2032-11-01
| 申请号 | CN202222897845.8 |
| 申请日 | 2022-11-01 |
| 授权公布号 | CN218443834U |
| 授权公告日 | 2023-02-03 |
| 分类号 | G01B21/16;G01L5/00 |
| 分类 | 测量;测试; |
| 申请人名称 | 深圳清联同创汽车电子有限公司 |
| 申请人地址 | 广东省深圳市龙岗区平湖街道上木古村新河路30号 |
专利法律状态
2023-02-03
授权
状态信息
授权
摘要
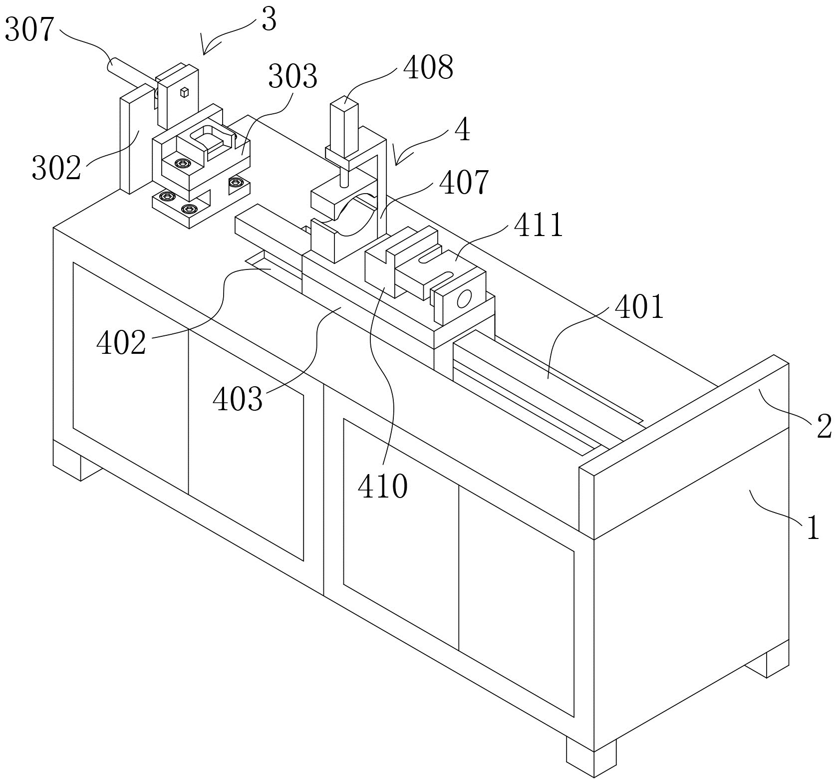
本申请提供了一种伸缩杆的自动化测试组件,包括支撑台,支撑台顶部的两侧分别设置有挡板以及限位机构,支撑台的顶部还设置有位于挡板和限位机构之间的检测机构;限位机构包括设置在支撑台顶部的定位部以及设置在定位部与支撑台之间的限位部,检测机构包括设置在支撑台上的测试部,测试部上设置有检测部。本申请通过设置的限位机构和检测机构,限位机构中的定位部和限位部配合能够对伸缩杆的一端进行限位,检测机构上的测试部能够对伸缩杆的另一端进行限位,伸缩杆通电伸出过程中检测部能够检测伸缩杆的推力以及行程,即能够实现对伸缩杆推力以及行程的自动检测,增加检测的准确性,提高检测效率。


