授权公布号:CN218137782U
一种杆头的打销钉组件
有效
申请
2022-10-13
申请公布
1970-01-01
授权
2022-12-27
预估到期
2032-10-13
| 申请号 | CN202222689107.4 |
| 申请日 | 2022-10-13 |
| 授权公布号 | CN218137782U |
| 授权公告日 | 2022-12-27 |
| 分类号 | B25B27/02 |
| 分类 | 手动工具;轻便机动工具;手动器械的手柄;车间设备;机械手; |
| 申请人名称 | 深圳清联同创汽车电子有限公司 |
| 申请人地址 | 广东省深圳市龙岗区平湖街道上木古村新河路30号 |
专利法律状态
2022-12-27
授权
状态信息
授权
摘要
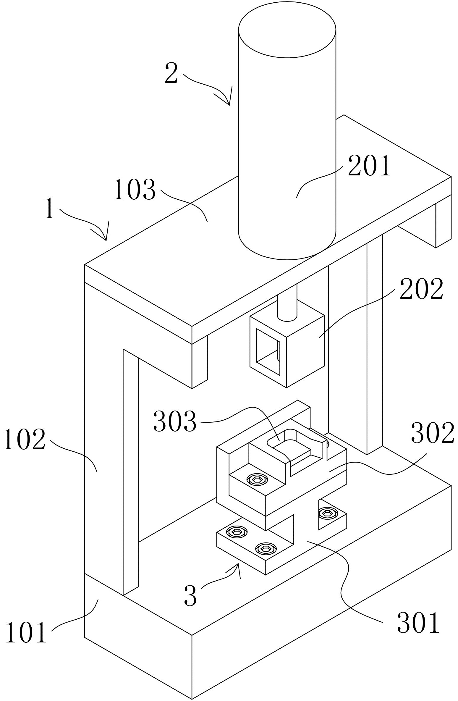
本申请提供了一种杆头的打销钉组件,包括支撑机构,支撑机构上设置有打销钉机构以及位于打销钉机构下方的定位机构,打销钉机构包括设置在支撑机构上的动力部,动力部上设置有打销钉部;定位机构包括设置在支撑机构上的承载部,承载部上设置有定位部。本申请通过设置的该打销钉组件,该打销钉组件中的定位部用于对杆头进行定位,通过动力部驱动打销钉部下降能够将销钉安装到杆头上,能够减少人工劳动强度,且提高了加工效率,利于生产。


