授权公布号:CN206623777U
一种具有自动识别功能的车载导航装置
有效
申请
2017-04-02
申请公布
1970-01-01
授权
2017-11-10
预估到期
2027-04-02
| 申请号 | CN201720343193.X |
| 申请日 | 2017-04-02 |
| 授权公布号 | CN206623777U |
| 授权公告日 | 2017-11-10 |
| 分类号 | B60R11/02;B60R11/04;G01C21/34 |
| 分类 | 一般车辆; |
| 申请人名称 | 深圳市龙航科技有限公司 |
| 申请人地址 | 广东省深圳市宝安区石岩街道水田社区石龙大道80号B栋4楼、5楼 |
专利法律状态
2017-11-10
授权
状态信息
授权
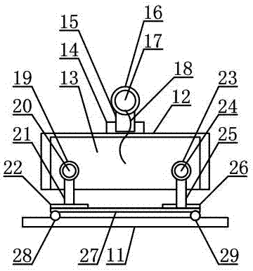
摘要
本实用新型涉及一种具有自动识别功能的车载导航装置,包括导航仪壳,导航仪壳的底部设有固定片,导航仪壳内设有车载导航仪,导航仪壳的顶部设有定位管,定位管内套装有旋调管,旋调管的端部设有调节壳,调节壳内设有摄像机,摄像机与车载导航仪为电连接;摄像机与车载导航仪通过电缆线连接。本实用新型可以方便对调节壳上的摄像机进行水平转动调节,可以对导航仪壳进行固定安装,通过导航仪壳可以对车载导航仪进行固定安装。


