授权公布号:CN210454691U
一种车载急救工具包
有效
申请
2019-06-26
申请公布
1970-01-01
授权
2020-05-05
预估到期
2029-06-26
| 申请号 | CN201920980897.7 |
| 申请日 | 2019-06-26 |
| 授权公布号 | CN210454691U |
| 授权公告日 | 2020-05-05 |
| 分类号 | B60R11/06;A61F17/00 |
| 分类 | 一般车辆; |
| 申请人名称 | 长沙环康科技有限公司 |
| 申请人地址 | 湖南省长沙市雨花区迎新路868号德思勤城市广场A3栋1809房 |
专利法律状态
2020-05-05
授权
状态信息
授权
摘要
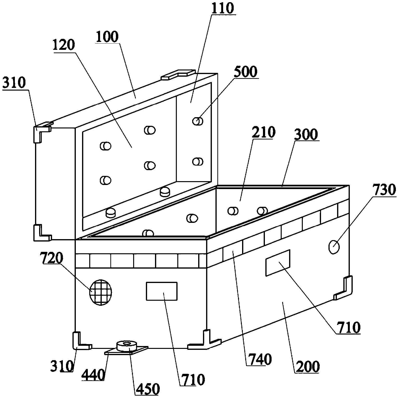
本实用新型公开了一种车载急救工具包,包括箱体和固定装置,箱体呈长方体状,箱体包括本体以及铰接于本体的顶部的盖体;本体和盖体的外表面均贴合设置有一层铝合金表皮;本体的外底壁贴合设置有缓冲软垫;固定装置包括螺杆组件和螺帽组件;螺杆组件包括螺杆以及和螺杆相配合的固定螺母;螺杆的底端连接设置有呈薄片状的固定片;固定片垂直于螺杆的轴线,且固定片的垂直于螺杆的轴线的方向上的尺寸大于螺杆的直径;螺帽组件包括突出片、旋转螺帽和环形限位器;固定装置能将整个急救工具包牢牢固定于车辆的行李箱内衬垫上,避免车载急救工具包在车辆行驶过程中出现碰撞或移位而对包内的急救用品和工具造成损伤。


