授权公布号:CN209923170U
一种含重金属河道底泥再回收利用装置
有效
申请
2019-04-17
申请公布
1970-01-01
授权
2020-01-10
预估到期
2029-04-17
| 申请号 | CN201920520681.2 |
| 申请日 | 2019-04-17 |
| 授权公布号 | CN209923170U |
| 授权公告日 | 2020-01-10 |
| 分类号 | C02F11/122;C02F11/14 |
| 分类 | 水、废水、污水或污泥的处理; |
| 申请人名称 | 山水环境科技股份有限公司 |
| 申请人地址 | 河南省新乡市封丘县工业路与工业三路交叉口产业集聚区创业服务中心 |
专利法律状态
2020-01-10
授权
状态信息
授权
摘要
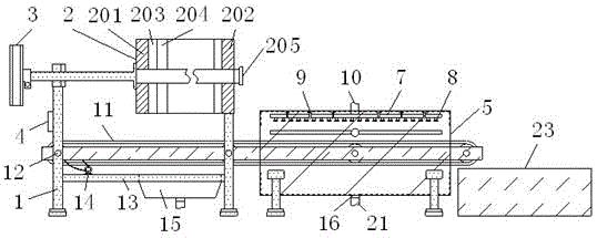
本实用新型公开了一种含重金属河道底泥再回收利用装置,包括支架,支架上固定有板框压滤机,板框压滤机的一侧连接有液压设备,支架的一侧安设有控制开关,远离液压设备的板框压滤机的一侧安设有淋洗设备,淋洗设备的两侧开设有开口,淋洗设备的内壁安设有喷射管,喷射管的底部安设有喷淋头,喷射管通过U型固定件与淋洗设备的内壁相固定。本实用新型主要依靠板框压滤机将底泥进行物理压缩,滤液进行生化处理后,达标排放,然后将滤饼投加进淋洗设备进行化学淋洗,淋洗后的废液随压缩滤液统一处理,滤饼投加堆肥发酵菌种,设定好时间温度参数,最后制得有机肥,实现底泥无害化、减量化和资源化利用。


