授权公布号:CN213863083U
一种便携植物包装盒
有效
申请
2020-11-25
申请公布
1970-01-01
授权
2021-08-03
预估到期
2030-11-25
| 申请号 | CN202022772199.3 |
| 申请日 | 2020-11-25 |
| 授权公布号 | CN213863083U |
| 授权公告日 | 2021-08-03 |
| 分类号 | B65D5/02;B65D5/42;B65D5/50;B65D5/62;B65D5/46;B65D85/52 |
| 分类 | 输送;包装;贮存;搬运薄的或细丝状材料; |
| 申请人名称 | 广东圣茵花卉园艺有限公司 |
| 申请人地址 | 广东省东莞市南城区水濂山大雁塘村 |
专利法律状态
2021-08-03
授权
状态信息
授权
摘要
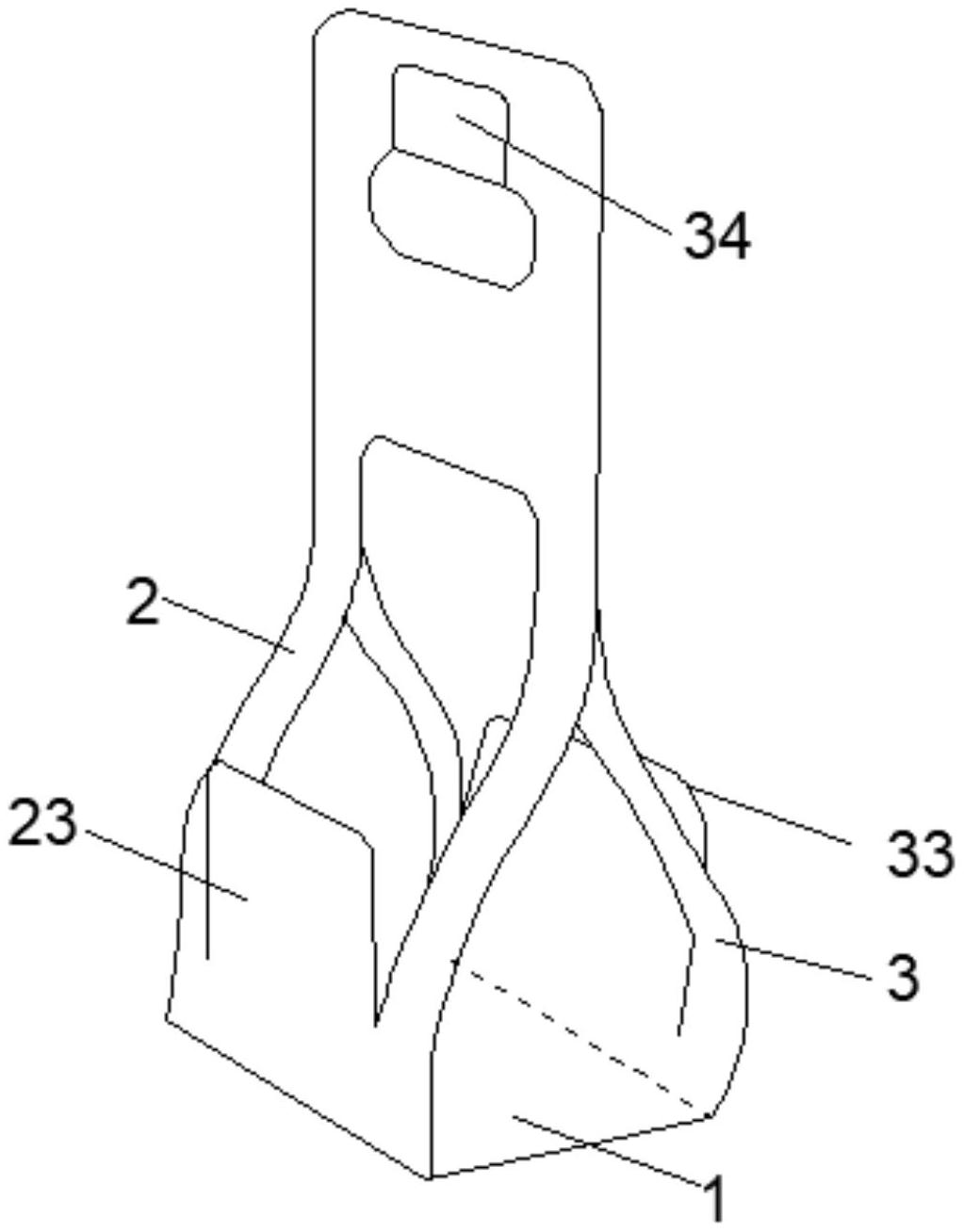
本实用新型涉及包装领域,尤其涉及一种便携植物包装盒,包括盒体和底座,所述盒体包括第一底板、第一侧翼和第二侧翼,所述第一侧翼包括第一手提部、第一展示部和第一隔挡部,所述第一手提部设置有第一手提孔,所述第一展示部的中部镂空形成第一展示缺口,所述第一隔挡部的上部经划开形成第一挡板;所述第二侧翼包括第二手提部、第二展示部和第二隔挡部,所述第二手提部设置有第二手提孔和卡舌,所述第二展示部的中部镂空形成第二展示缺口,所述第二隔挡部的上部经划开形成第二挡板。本实用新型展开折叠时整体呈一个平面,堆叠占用的空间非常小;包装盒具有展示效果,利于植物的保存;本实用新型结构简单,使用方便,外形美观,适于携带植物。


