授权公布号:CN210850034U
一种用于组合雨刮连接的设备
有效
申请
2019-06-14
申请公布
1970-01-01
授权
2020-06-26
预估到期
2029-06-14
| 申请号 | CN201920902119.6 |
| 申请日 | 2019-06-14 |
| 授权公布号 | CN210850034U |
| 授权公告日 | 2020-06-26 |
| 分类号 | B25B27/00 |
| 分类 | 手动工具;轻便机动工具;手动器械的手柄;车间设备;机械手; |
| 申请人名称 | 广东可普汽车配件有限公司 |
| 申请人地址 | 广东省江门市蓬江区荷塘镇中兴四路17号(广东现代集装箱有限公司厂内E区) |
专利法律状态
2020-06-26
授权
状态信息
授权
摘要
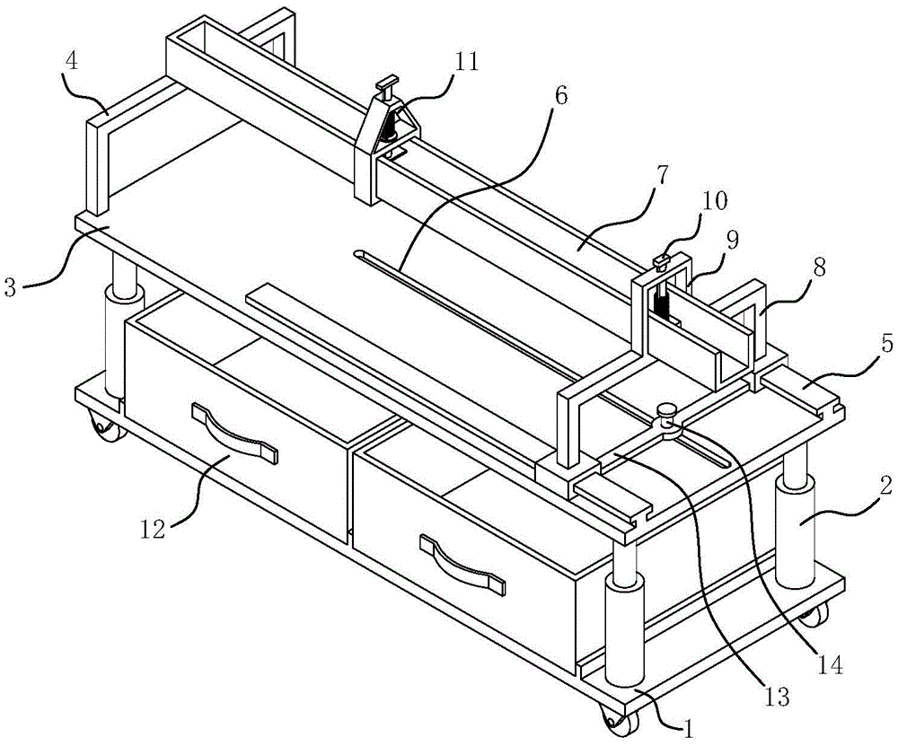
本实用新型公开了一种用于组合雨刮连接的设备,涉及雨刮器技术领域。本实用新型包括底板,底板顶部固定有升降机构,升降机构顶端固定有组装台,组装台上表面固定有固定架和滑轨、开设有定位槽,固定架上固定有连接槽,滑轨上滑动连接有框架,框架顶部固定有与连接槽相配合的限位架,限位架上贯穿有夹紧机构,连接槽上滑动连接有紧固机构。本实用新型通过在组合连接雨刮时,将雨刮固定在连接槽中,不在需要员工手持安装,不仅降低了员工的劳动强度,提高工作效率,而且固定更牢固方便组合连接,保证连接时的安装质量。


