授权公布号:CN210337861U
一种雨刷连接器
有效
申请
2019-06-14
申请公布
1970-01-01
授权
2020-04-17
预估到期
2029-06-14
| 申请号 | CN201920901651.6 |
| 申请日 | 2019-06-14 |
| 授权公布号 | CN210337861U |
| 授权公告日 | 2020-04-17 |
| 分类号 | B60S1/40 |
| 分类 | 一般车辆; |
| 申请人名称 | 广东可普汽车配件有限公司 |
| 申请人地址 | 广东省江门市蓬江区荷塘镇中兴四路17号(广东现代集装箱有限公司厂内E区) |
专利法律状态
2020-04-17
授权
状态信息
授权
摘要
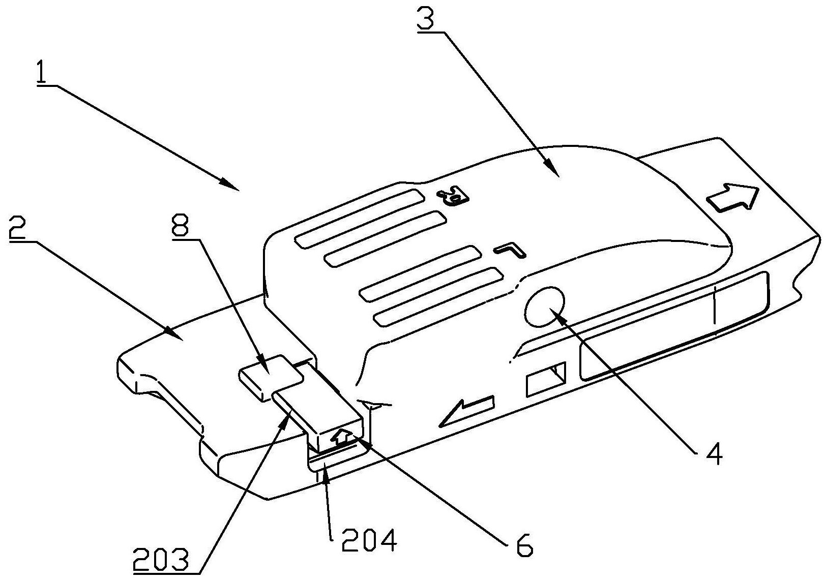
本实用新型公开了一种雨刷连接器,涉及雨刷技术领域。本实用新型包括用于连接雨刷条中连接板和雨刷臂的连接头;连接头包括与连接板连接的下部板体、与下部板体上表面固连的上罩体;上罩体一相对侧壁贯穿固定有内圆套筒;下部板体下端设有用于连接板进出的下通道;下通道下端部相对侧面均固接有三个用于限制连接板两侧凸片的卡接片;其中雨刷条中部的连接板为长方形结构。本实用新型通过设计的连接头包括下部板体与上罩体两个部分,其中弹性复位挡件中按压矩形块可进行抬起操作,按压矩形块和扣钩配合使用,方便手动按压按压矩形块进行安装、拆解,提高了连接头的使用便利性,解决了现有连接固定及不便拆解的问题。


