授权公布号:CN214095290U
一种用于共挤木塑板的木粉干燥机
有效
申请
2020-11-04
申请公布
1970-01-01
授权
2021-08-31
预估到期
2030-11-04
| 申请号 | CN202022526336.5 |
| 申请日 | 2020-11-04 |
| 授权公布号 | CN214095290U |
| 授权公告日 | 2021-08-31 |
| 分类号 | F26B11/06;F26B21/00;F26B23/04;F26B25/12;F26B25/16;F26B25/04;F26B25/00 |
| 分类 | 干燥; |
| 申请人名称 | 浙江格林特木塑材料有限公司 |
| 申请人地址 | 浙江省湖州市吴兴区妙西镇龙泉坞生态工业集中区 |
专利法律状态
2021-08-31
授权
状态信息
授权
摘要
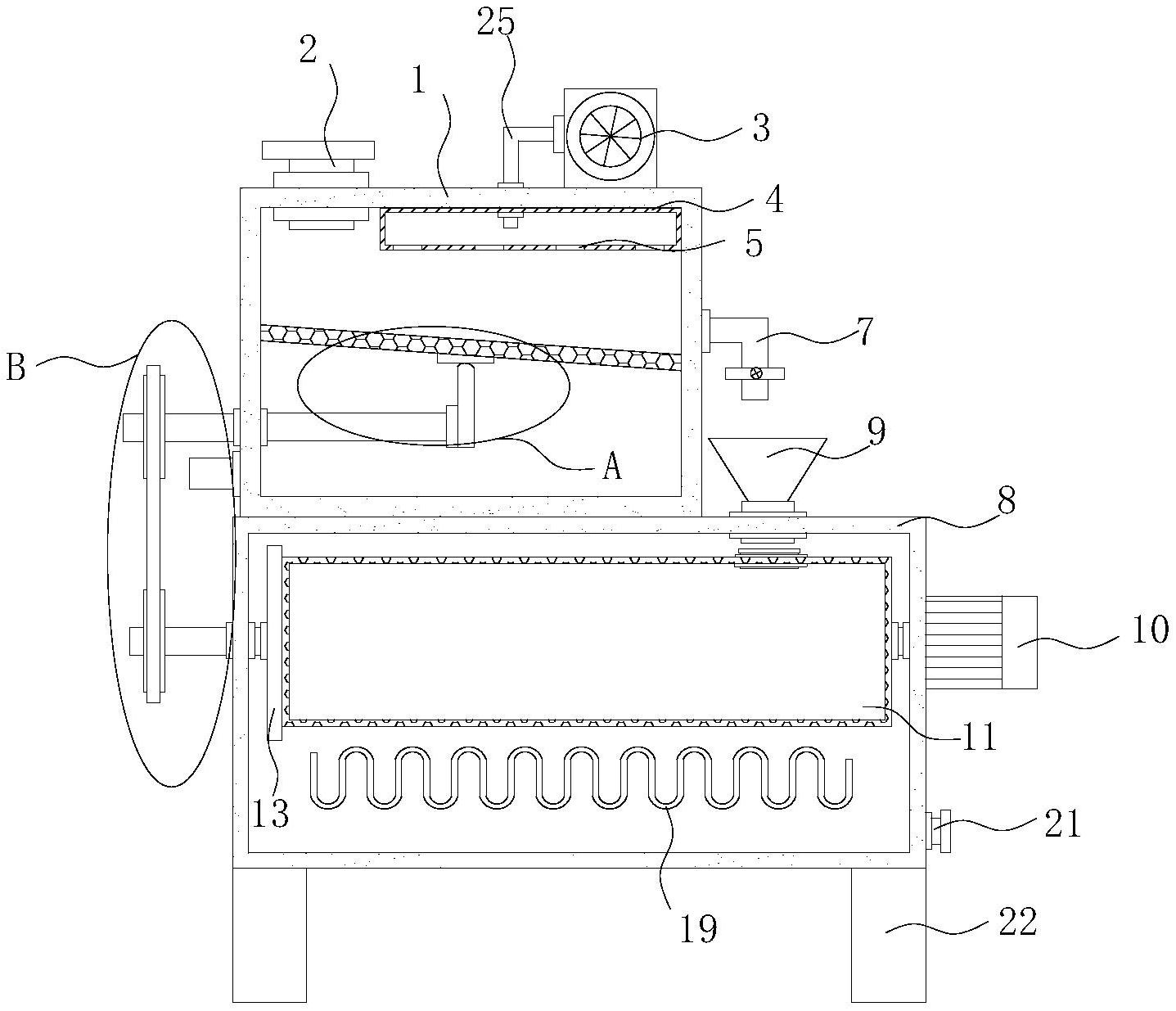
本实用新型公开了一种用于共挤木塑板的木粉干燥机,涉及木粉干燥技术领域。该用于共挤木塑板的木粉干燥机,包括箱体,所述箱体的顶部固定连接有进料管,进料管的一端延伸至箱体的内部,进料管的一端螺纹连接有螺纹盖,箱体的顶部固定安装有鼓风机,鼓风机位于进料管的右侧,箱体的内侧顶部固定安装有集风箱。通过鼓风机、集风箱、出风口、斜板、出料管、第二箱体、进料漏斗、电机、离心甩水舱、衔接管和底盘的配合使用,一方面对需要进行干燥的木粉进行两次干燥,大大提高了木粉的干燥效率,为接下来的工作提供了方便,另一方面通过烘干脱水和离心甩水的双重配合缩短了木粉干燥时间,提高了工作效率,减少了经济损失。


